Leveling-Integral Machines

1. Drive tractor and machine onto level ground. Lower to planting position while driving forward.

OUO6074,00001A1 -19-24JAN01-1/5


2. If equipped with lift-assist wheels and SCV single lever control, raise lift-assist wheels (A) off the ground.


A-Lift-Assist Wheels

A38228

OUO6074,00001A1 -19-24JAN01-2/5


3. Adjust drive-gauge wheels (A) until machine frame is 510 mm to 560 mm (20 in. to 22 in.) above the ground.

When planting, parallel arms (B) should be parallel to ground.

Adjust drive-gauge wheels as follows:

a. Loosen nut (C).

b. Turn adjusting bolt (D) clockwise to raise wheel and lower machine frame.

c. Turn adjusting bolt counterclockwise to lower wheel and raise machine frame.

d. Tighten nut (C) against casting (E) to prevent bolt (D) from rotating.

Level frame front-to-rear with tractor center link (F).

Check to be sure parallel arms (B) are parallel with ground. Adjust center link and/or drive-gauge wheels as needed.


A-Drive Gauge Wheels
B-Parallel Arms
C-Nut
D-Bolt
E-Casting
F-Center Link

A46452
A31133
A47057

OUO6074,00001A1 -19-24JAN01-3/5


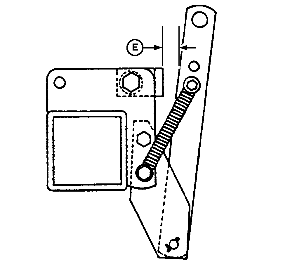
Machines With Pivoting Mast

Raise machine and check dimension (E) between mast links (C) and stops (D). Dimension (E) must be 75 mm (3 in.) or more. If dimension (E) is less than 75 mm (3 in.) proceed as follows:

1. Lower machine to ground

2. Shorten tractor lift links (A) to shortest length. See tractor operator's manual.

3. Level machine frame front-to-rear with tractor center link (B).

4. Loosen axle collars (C) and position axles (D) UPWARD. Tighten collars.

5. Raise machine and check dimension (E). Adjust as needed.


A-Lift Links
B-Center Link
C-Axle Collars
D-Axles
E-Dimension

A47050
A47051
A47049

OUO6074,00001A1 -19-24JAN01-4/5


Machines Equipped With No Mast And Drive Gauge Wheels To Front of Frame

Adjust drive-gauge wheels (A) until machine frame is 510 mm to 560 mm (20 in. to 22 in.) above ground. Parallel arms (B) should be parallel with the ground.

Adjust drive-gauge wheels as follows:

1. Loosen nut (C).

2. Turn adjusting bolt (D) clockwise to raise wheel and lower machine frame.

3. Turn adjusting bolt (D) counterclockwise to lower wheel and raise machine frame.

4. Turn nut (C) against casting (E) to prevent bolt (D) from rotating.

NOTE: Raise machine to transport position before adjusting cylinder stops.

5. Level frame front-to-rear with lift assist wheel cylinder stops (F).

Check to be sure parallel arms (B) are parallel with ground when in planting position. Adjust lift assist wheels and/or drive-gauge wheels as needed.


A-Drive Gauge Wheels
B-Parallel Arms
C-Nut
D-Adjusting Bolt
E-Casting
F-Cylinder Stop

A46452
A32872
A32875

OUO6074,00001A1 -19-24JAN01-5/5