Opening and Closing Product Runs

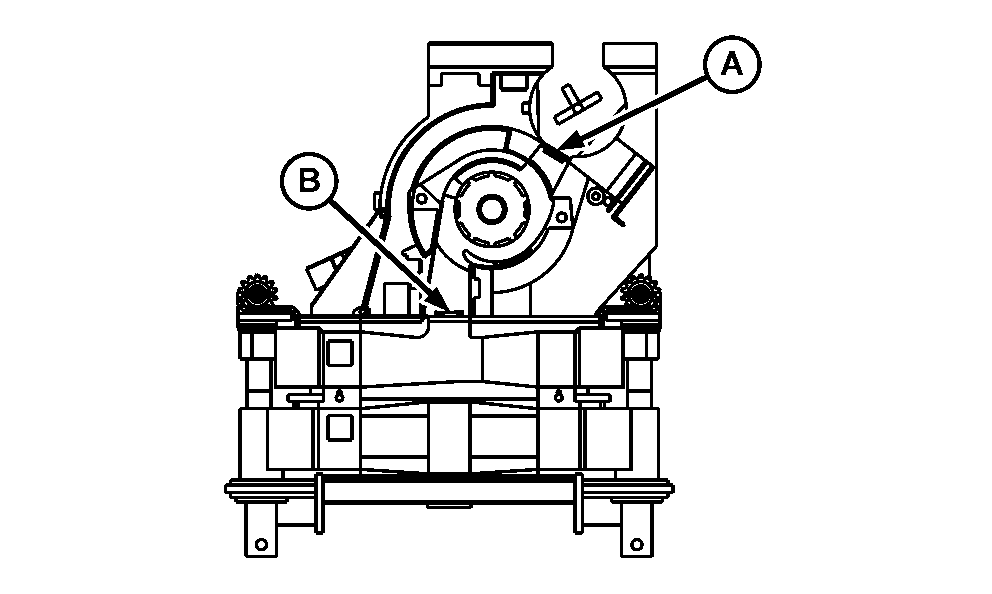
Blocking devices are used to keep product out of inactive runs. Meter cartridge doors (A) snap into product opening of segment enclosures. Seals (B) are installed between meter cartridge and manifold plate of inactive runs.

Both cartridge doors (A) and seals (B) must be removed to activate a run, allowing product to reach the air stream.


A-Meter Cartridge Doors
B-Seal

A41898

Double-Shoot Manifold

AG,OUO6023,1064 -19-21JUL00-1/1