Adjusting Tank Lid Down Pressure

Tank lid closing down-pressure is adjustable to reduce air leaks. Use powder or fine dirt to check for air leakage around lid perimeter.

AG,OUO6023,1073 -19-21JUL00-1/5


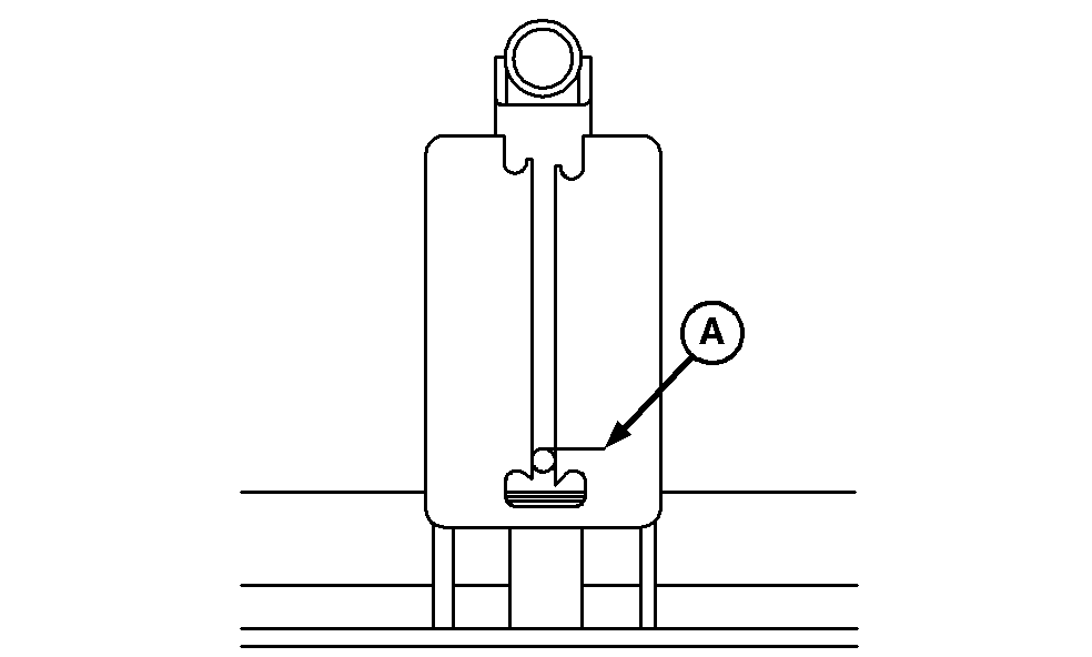
Inspect condition of tank lid eyebolt (A). If eyebolt shows any bend, remove and replace.

To adjust:


A-Eyebolt

A46307

AG,OUO6023,1073 -19-21JUL00-2/5


1. With lid centered on seal and closed, adjust centering tabs (A) so gap (B) meets specification.

Specification

Lid to Tab -Gap 1.5 mm (.06 in.)

2. Open lid and place lock pin in top groove as shown.


A-Centering Tab
B-Gap

A46310
A46309

AG,OUO6023,1073 -19-21JUL00-3/5


IMPORTANT: Swing arm adjustment bolt gap (B) should be as little as possible without contacting, with a maximum gap of 3 mm (.125 in.).

3. Ensure gap (B) meets specification.

Specification

Pivot Clearance Max. (B) -Gap 3 mm (.125 in.)
Adjust latch set screw (A) as needed.


A-Latch Set Screw
B-Gap

A43546
A43545

AG,OUO6023,1073 -19-21JUL00-4/5


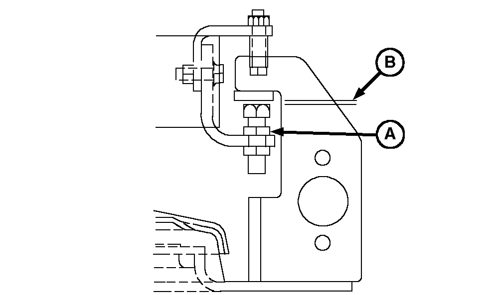
4. Lower handle allowing lid to rest on tank but leaving it unlocked as shown.

NOTE: Swing arm adjustment bolt should not have a gap with lid in this position. If adjustment is necessary, lightly press down on the lid handle while making adjustment.

5. Verify that distance (A) is 10 mm (.4 in.) ± 2 mm (.08 in.). Adjust as necessary by turning jam nuts (B).

IMPORTANT: Product metering will be adversely affected if lid is not sealed tightly. If the tank is not pressurized, product will not meter properly.

6. Close lid and check for good, tight seal when lever is down and lock pin seated in "J" slot.


A-Distance, 10 mm (.4 in.) ± 2 mm (.08 in.)
B-Jam Nuts

A43547

Unlocked Position

A43548
A46308

AG,OUO6023,1073 -19-21JUL00-5/5