Blockage Monitoring Systems

Blockage monitoring system consists of movement sensors (A), installed in-line on the secondary air hoses, and seeding mounted electronic controller (B) that translate the sensor's signals into communications language for blockage notification display on the tractor-mounted console.

Slave controllers (C) are provided to keep loose wiring to a minimum.

Two types of systems are available:

Primary-Only System-Uses one sensor at each secondary manifold to check for seed flow from the primary run (16 sensors maximum).

All-Run System-Uses one sensor in each secondary hose to sense seed flow to every opener (192 sensors maximum).

Communication cable from seeding mounted electronic controller attaches to cart controller at interface plug, dislocating terminator to the end of the CAN line.

Interface connection is necessary as blockage controller receives "meter enabled" signal(s) from the cart controller.

Cart controller sends meter enabled signal(s) when all of the following conditions are met:

  • Main clutch engaged
  • Ground speed greater than 3 km/h (2 mph)
  • Fan speed greater than 500 rpm
  • Meter clutch(es) engaged
  • Meter rpm(s) sensed


A-Movement Sensors
B-Controller
C-Slave Controllers

A47381
A42705
A42731A

Primary Only System

A42706

All Run System

AG,OUO6023,1159 -19-21JUL00-1/4


NOTE: Air system configuration determines if meter enable signals are needed from one or both meters.

In single-shoot (two products in the same air stream), only one meter enable signal is needed (front or rear) to activate blockage warnings.

In double-shoot (separated air streams) warnings will be sent only for the primary runs actively seeding (top or bottom). At least two meters need to be "enabled" to receive blockage warnings for both top and bottom primaries.

Without meter enabled signal(s), system will not provide blockage warnings.

AG,OUO6023,1159 -19-21JUL00-2/4


Blockage Monitoring-Primary Only:

Run identification is an important factor in set-up of blockage warning systems.

Primary Only system can monitor up to 16 secondary lines for blockage by placing one blockage sensor in a secondary hose at each header. More than one sensor can be installed at each header if less than 16 primaries are used.

Primary run identification for an 8-run single-shoot system is the same as others where runs are numbered left-to-right 1-8 when all are active. If desired, two sensors can be installed in each run to use up all sixteen available, and improve monitoring capability. Systems using less than the full number of available runs should be numbered left-to-right, counting only the active, product carrying runs.

Numbering of an all-run double-shoot blockage system deviates from numbering scheme.

The primaries are numbered left-to-right across the seeding tool with primary one on the left-hand end of the tool. For a typical double-shoot system, the first left-hand top primary is still numbered as one but the first left-hand bottom primary is numbered as two (NOT 9). Top and bottom alternating scheme continues across the entire width of the seeding placing primaries fifteen and sixteen on the right-hand end, NOT 8 and 16 as done with end-to-end numbering.

Systems using less than the full number of available runs are numbered the same way; counting only the active, product carrying runs.

When a blockage occurs, the processor number and sensor number associated with the blocked secondary will be displayed. As an example, P2R1 indicates processor 2, run 1 is blocked. This would be the third sensor from the left-hand end of the machine. Sensors are actually installed in secondary lines.

A46946
A46945

AG,OUO6023,1159 -19-21JUL00-3/4


Blockage Monitoring-All Runs:

All-run system can monitor up to 192 secondary runs for blockage.

Same scheme as described for Primary-Only system is used to identify primaries for an All-Run system.

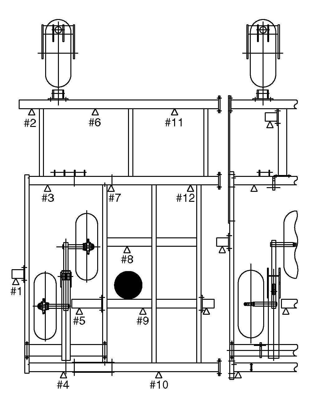
With the primaries identified, each secondary port is numbered in a clockwise direction -OR- runs are numbered by row in sequential order from left to right for easy identification when blockage occurs. Blockage signal will identify both the primary header and secondary run/row using a PXRXX code. As an example, if P1R11 were to signal "blockage", you would check the number eleven port (R11) of the first primary header (P1) on the left-hand side of the machine, attached to the top bank of runs.

A41962

Secondary Port-Clockwise Identification

A41972

Row-By-Row Sequential Identification

AG,OUO6023,1159 -19-21JUL00-4/4