Adjusting Tank Lid Down Pressure and Centering Tabs

IMPORTANT: Product metering will be adversely affected if lid is not sealed tightly. If the tank is not pressurized, product will not meter properly.

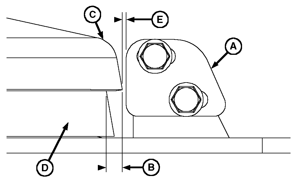
Centering Tabs

1. Center tank lid (C) so the overlap distance (B) is the same on each side of seal (D). Adjust centering tabs (A) so gap (E) meets specification.

Specification

Lid to Tab -Gap 1.5 mm (1/16 in.)

2. Tighten hardware in position.

Tank Lid Down Pressure

Tank lid down-pressure is adjustable to reduce air leaks. Use powder or fine dirt to check for air leakage around lid perimeter.

To adjust lid proceeds as follows:

A46455


A-Centering Tab
B-Overlap Distance
C-Tank Lid
D-Seal
E-Gap

AG,OUO1011,2927 -19-27APR00-1/6


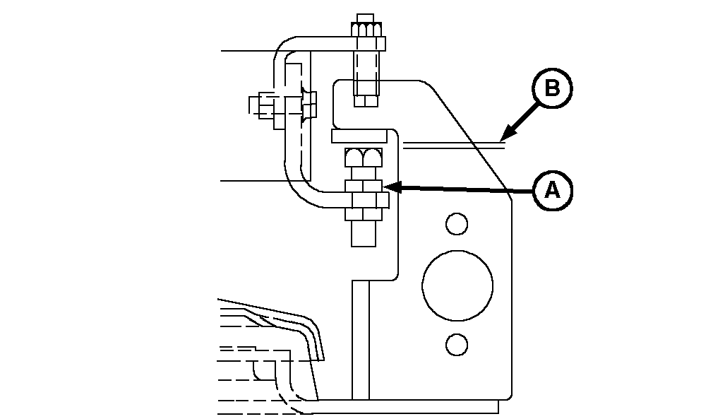
1. Open lid and place in the upper locked position.

A43546

AG,OUO1011,2927 -19-27APR00-2/6


2. Adjust latch set screw (A) as needed. To set pivot clearance gap (B) to specification.

Specification

Pivot -Clearance 3.2 mm (1/8 in.)


A-Set Screw
B-Gap

A43545
A43473

AG,OUO1011,2927 -19-27APR00-3/6


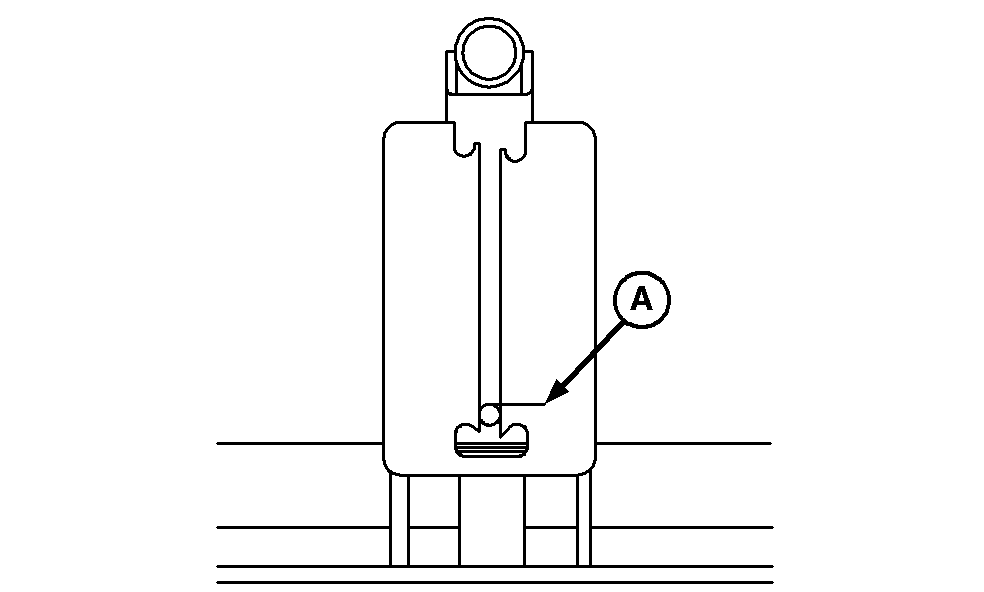
3. Identify notch (A).


A-Notch

A49160

AG,OUO1011,2927 -19-27APR00-4/6


4. Lower handle, allowing lid to rest on tank in unlocked position.

A43547

AG,OUO1011,2927 -19-27APR00-5/6


NOTE: Swing arm adjustment bolt should not have a gap with lid in this position. If adjustment is necessary, lightly press down on the lid handle while making adjustment.

5. Top of pin should be at notch (A). Adjust as necessary by turning coupling nut (B).

6. Close lid and check for good, tight seal when lever is down and locked.


A-Notch
B-Coupling Nut

A49160
A46308

AG,OUO1011,2927 -19-27APR00-6/6