Cleanout and Inspection of Seed Hoppers and Metering Units

IMPORTANT: Use precautions as recommended by chemical manufacturers when handling parts coated with seed treatments. Use proper skin, eye and respiratory protection.

For best operation, empty hoppers thoroughly after each days use to remove chaff, dust and other foreign material.

AG,OUO6074,1210 -19-04AUG00-1/8


To remove seed hopper from planting unit, disengage hopper latch (A) and lift hopper upward then rearward.


A-Hopper Latch

A38260

58L (1.6 bu) Seed Hopper

A30211

106L (3 bu) Seed Hopper

AG,OUO6074,1210 -19-04AUG00-2/8


Emptying Vacuum Meter

Remove vacuum hose (A) from vacuum meter.


A-Vacuum Hose

A38259

AG,OUO6074,1210 -19-04AUG00-3/8


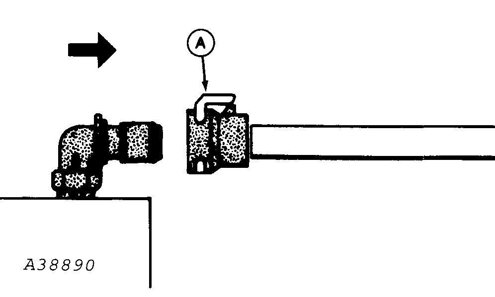
On vacuum meters equipped with vacuum gauge hose, squeeze retainer (A) and disconnect hose.

IMPORTANT: Use precautions as recommended by chemical manufacturers when handling parts coated with seed treatments. Use proper skin, eye and respiratory protection.

Empty hopper and vacuum seed meter by inverting hopper. Rotate hopper so seed is slowly poured from LEFT-HAND REAR CORNER. When hopper is empty, some seed will remain in meter housing. To empty this seed, rotate hopper back to operating position. Invert hopper again and pour from LEFT-HAND REAR CORNER to empty seed from meter housing.

Emptying Plateless Meters

IMPORTANT: Use precautions as recommended by chemical manufacturers when handling parts coated with seed treatments. Use proper skin, eye and respiratory protection.

FINGER PICK-UP-Remove and invert hopper. Rotate hopper so seed is slowly poured from RIGHT-HAND REAR CORNER. When hopper is empty, some seed will remain in meter housing. To empty this seed, rotate hopper back to operating position. Invert hopper again and pour from RIGHT-HAND REAR CORNER to empty seed from meter housing and rotate meter flex drive to remove seeds from fingers and seed belt.

RADIAL BEAN METER-Remove and invert hopper. Return hopper to upright position and rotate meter flex drive to empty remaining seed from metering cells.

FEED-CUP-Remove and invert hopper. Rotate meter shaft to empty remaining seed from meter.

A38890


A-Retainer

AG,OUO6074,1210 -19-04AUG00-4/8


Inspecting Plateless Meters

NOTE: If using seed treatments, remove any buildup that may occur in bottom of hopper.

FINGER PICK-UP-Remove two wing nuts (A) and pull finger pick-up unit straight up to disengage it from two mounting studs and retainer ring.

IMPORTANT: Avoid damage to meter brush. Do not turn finger pick-up mechanism backwards.

Turn meter shaft by hand to determine if mechanism is free of dirt, chaff, or other foreign material. If mechanism is obstructed or further disassembly of finger pick-up unit is required, see Service-Every 50 Hours section.

H44516

Finger Pick-Up


A-Wing Nuts

AG,OUO6074,1210 -19-04AUG00-5/8


RADIAL BEAN METER-Turn metering assembly by hand to determine if mechanism is free of dirt, chaff or other foreign material. If mechanism is obstructed and further disassembly of seed meter is required, see Service-End of Season section.

A40460

Radial Bean Meter

AG,OUO6074,1210 -19-04AUG00-6/8


FEED-CUP-Turn metering assembly by hand to determine if mechanism is free of dirt, chaff or other foreign material. If mechanism is obstructed, remove wing nuts (A) then remove feed-cup housing and feed cup from adapter. Clean feed-cup with soap and water.


A-Wing Nuts

H44522

Feed-Cup

AG,OUO6074,1210 -19-04AUG00-7/8


Inspecting Vacuum Meter

NOTE: If using seed treatments, remove any buildup that may occur in bottom of hopper.

To inspect meter, lay hopper on side and open door (A) to remove seed disk. Turn meter hub (B) by hand to determine if mechanism is free of dirt, chaff or other foreign material. Inspect brush for gaps, hub seal for cracks and vacuum seal for cracks and wear areas. If replacement is necessary, see Service-End of Season section.


A-Door
B-Meter Hub

A47302

Vacuum Meter

AG,OUO6074,1210 -19-04AUG00-8/8