Aligning Disk Opener

IMPORTANT: On certain frame configurations, some opener locations may be limited.

LIQUID: The recommended placement of fertilizer is 50 mm to 125 mm (1 in. to 5 in.) to either side of planting unit double-disk seed opener (A).

DRY: The recommended placement of fertilizer is 25 mm to 125 mm (1 in. to 5 in.) to either side of planting unit double-disk seed opener (A).

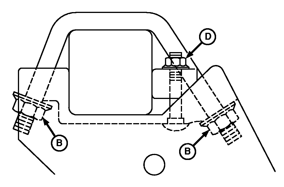
To change location of fertilizer opener, loosen opener U-bolt nuts (B), wedge bolts (D) and slide opener to right or left until disk (C) is at desired location.

To attach fertilizer opener to tubular frame proceed as follows:

1. Snug U-bolt nuts (B) until opener is square with and touching bottom of tubular frame.

2. Tighten wedge bolt nut (D) to specifications.

Specification

Wedge Bolt Nut -Torque 70 N·m (52 lb-ft)

3. Tighten U-bolt nuts (B) to specifications.

Specification

U-Bolt Nut -Torque 175 N·m (129 lb-ft)

A46927
A46924


A-Seed Opener
B-U-Bolt Nuts
C-Disk
D-Wedge Bolt Nut

AG,OUO6074,1341 -19-04AUG00-1/1