Adjusting Down Force

The opener down force is adjustable to provide effective penetration for varying field conditions.

Use minimum down force necessary for field conditions.

Observe how deep gauge wheel is running:

  • If wheel is sinking too deep into soil, use minimum spring pressure setting.
  • If disk is not penetrating sufficiently for gauge wheel to consistently contact soil surface, use maximum spring pressure setting.

NOTE: Excessive opener down force may cause machine frame to run higher than desirable or may substantially reduce machine drive wheel traction. Additional frame ballast or reduced spring force may be necessary to maintain adequate machine drive wheel traction.

To adjust down force, proceed as follows:

1. Raise machine and install service locks.

AG,OUO6074,1343 -19-04AUG00-1/5


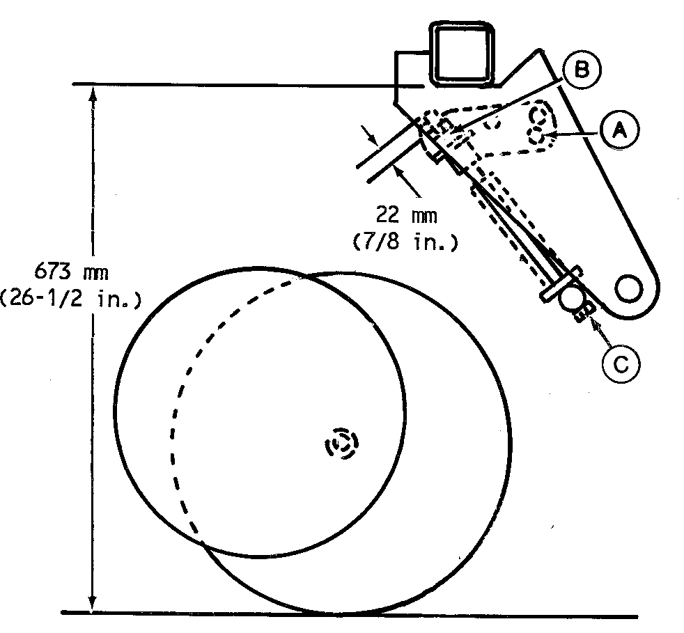
2. Remove spring-locking pin from pin (A) and remove pin from spring housing.

3. Position pin through internal strap and hole (C) for maximum spring pressure. Position pin through strap and hole (B) for minimum spring pressure.

4. Attach with spring-locking pin.


A-Pin
B-Hole
C-Hole

A46926

AG,OUO6074,1343 -19-04AUG00-2/5


IMPORTANT: Maintain 673 mm (26.5 in.) dimension between bottom of machine frame and bottom edge of disk opener.

5. When openers are set in the minimum position (A), loosen jam nut (B) and adjust cap screw (C) so there are no threads showing beyond jam nut. Tighten jam nut.


A-Minimum Position
B-Jam Nut
C-Cap Screw

A39740

AG,OUO6074,1343 -19-04AUG00-3/5


IMPORTANT: Maintain 673 mm (26.5 in.) dimension between bottom of machine frame and bottom edge of disk opener.

When openers are set in the maximum position (A), loosen jam nut (B) and adjust cap screw (C) so there are 22 mm (7/8 in.) of threads showing beyond jam nut. Tighten jam nut.


A-Maximum Position
B-Jam Nut
C-Cap Screw

A39741

AG,OUO6074,1343 -19-04AUG00-4/5


NOTE: With dry fertilizer opener, dimension (A) should not be greater than 711 mm (28 in.) or fertilizer tube may plug with soil as opener engages the ground.

6. After down force adjustment has been made, check dimension (A). It should not be less than 635 mm (25 in.). If necessary, loosen jam nut (C) and turn bolt (B) clockwise to raise opener or counterclockwise to lower opener. Tighten jam nut (C).


A-Dimension
B-Bolt
C-Jam Nut

H40817
H40818

AG,OUO6074,1343 -19-04AUG00-5/5