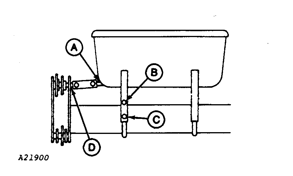
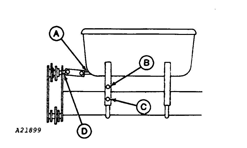
Aligning Dry Fertilizer Transmission Drive and Auger Shafts

If the fertilizer auger shaft (A) is lower than the transmission drive shaft (D), loosen lower nut on U-bolt (C) and tighten upper nut on U-bolt (B) until auger shaft is in line with transmission drive shaft.

If the auger shaft is higher than the transmission drive shaft, loosen the upper nut on U-bolt and tighten the lower nut until auger shaft is in line with transmission drive shaft. After aligning auger shafts, tighten fertilizer hopper U-bolts.


A-Auger Shaft
B-Upper Nut on U-Bolt
C-Lower Nut on U-Bolt
D-Drive Shaft

A21899
A21900

OUO6074,0000269 -19-12MAR01-1/1