Adjusting Downforce-24R20

The opener downforce is adjustable to provide effective penetration for varying field conditions.

Use minimum downforce necessary for field conditions.

Observe how deep gauge wheel is running:

  • If wheel is sinking too deep into soil, use minimum spring pressure setting.
  • If disk is not penetrating sufficiently for gauge wheel to consistently contact soil surface, use maximum spring pressure setting.

NOTE: Excessive opener downforce may cause machine frame to run higher than desirable or may substantially reduce machine drive wheel traction. Additional frame ballast or reduced spring force may be necessary to maintain adequate machine drive wheel traction.

To adjust downforce, proceed as follows:

1. Raise machine and install service locks.

AG,OUO6074,1351 -19-04AUG00-1/5


2. Remove spring-locking pin from pin (A) and remove pin from housing.

3. Position pin through internal strap and hole (C) for maximum spring pressure. Position pin through strap and hole (B) for minimum spring pressure.

4. Attach with spring-locking pin.


A-Pin
B-Hole
C-Hole

A46926

AG,OUO6074,1351 -19-04AUG00-2/5


IMPORTANT: Maintain 673 mm (26.5 in.) between bottom of machine frame and bottom edge of disk opener, with machine in the raised position.

5. When openers are set in the minimum position (A), loosen jam nut (B) and adjust cap screw (C) so no threads are showing beyond jam nut. Tighten jam nut.


A-Minimum Position
B-Jam Nut
C-Cap Screw

A39740

AG,OUO6074,1351 -19-04AUG00-3/5


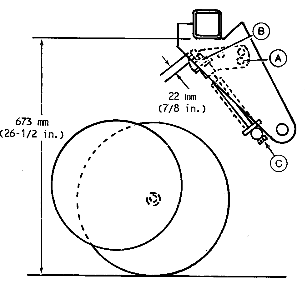
IMPORTANT: Maintain 673 mm (26.5 in.) between bottom of machine frame and bottom edge of disk opener, with machine in the raised position.

When openers are set in the maximum position (A), loosen jam nut (B) and adjust cap screw (C) so 22 mm (7/8 in.) of threads are showing beyond jam nut. Tighten jam nut.


A-Maximum Position
B-Jam Nut
C-Cap Screw

A39741

AG,OUO6074,1351 -19-04AUG00-4/5


6. After downforce adjustment has been made, check dimension (A). It should not be less than 635 mm (25 in.). If necessary, loosen jam nut (C) and turn cap screw (B) clockwise to raise opener or counterclockwise to lower opener. Tighten jam nut (C).


A-Dimension
B-Cap Screw
C-Jam Nut

H40817
H40818

AG,OUO6074,1351 -19-04AUG00-5/5