Detaching Machine from Tractor

causym CAUTION: To avoid injury from escaping hydraulic oil under pressure. Remove all trapped pressure out of machine hydraulic system. Lower machine to ground or on service stops. Put in FLOAT. Cycle all control console switches. Turn off engine.

NOTE: Not necessary to turn off tractor if detaching machine from John Deere Tractors with ISO couplers.

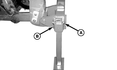
Remove hair pins (B) and drilled pins (A) and lower hitch stands.

Install drilled pins and spring locking pins.

Install service/storage locks.

Lower machine onto the ground or onto the service/storage locks.

Disconnect machine hydraulic hoses.

Disconnect vacuum meter hoses (if so equipped).

Disconnect machine warning lamp harness from the seven-pin connector.

Disconnect machine monitor harness.

Disconnect liquid herbicide hoses (if equipped).

Raise handles on tractor quick-coupler and lower the tractor rockshaft until the quick-coupler is below the machine hitch pins. Drive tractor away slowly.

A47888


A-Drilled Pin
B-Hair Pin

OM56578,40,A -19-24AUG01-1/2


Place machine hydraulic hoses (A) and seven pin connector (B) into holding bracket as illustrated.

IMPORTANT: When machine is disconnected from tractor, the case drain hose (C) MUST be placed in the storage bracket (D) to prevent damage to CCS fan motor and vacuum motors. The bracket is designed to depress the tip to relieve hydraulic pressure from the hose at all times.

Place case drain hose (C) into storage bracket (D).


A-Hoses, Hydraulic
B-Connector, 7-Pin
C-Case Drain Hose
D-Storage Bracket

A50886
A50885

Case Drain Storage Bracket

OM56578,40,A -19-24AUG01-2/2