Replacing Marker Breakaway Bolt

The marker breakaway bolt (A) provides breakaway protection when the marker hits an obstacle.

To replace the breakaway bolt, proceed as follows:


A-Breakaway Bolt

A51121

OUO6074,00003E0 -19-02AUG01-1/2


NOTE: Extra shear bolts (A) are located on the inside of each marker casting.

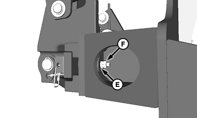
Return marker arm (B) to operating position, install spacer (C) and insert breakaway bolt (D) through hole in machine frame.

Tighten breakaway bolt with nut (E) to specification and secure with jam nut (F).

Specification

Nut (E)-30 ft Machine -Torque 81 N·m (40 lb-ft)
Nut (E)-40 ft Machine -Torque 54 N·m (60 lb-ft)


A-Extra Shear Bolts
B-Marker Arm
C-Spacer
D-Breakaway Bolt
E-Nut
F-Jam Nut

A51153
A52358
A52357

OUO6074,00003E0 -19-02AUG01-2/2