6000 Series Tractors with Exhaust on Hood—Radar and Bracket
Installation
-

H45444-UN-02DEC92
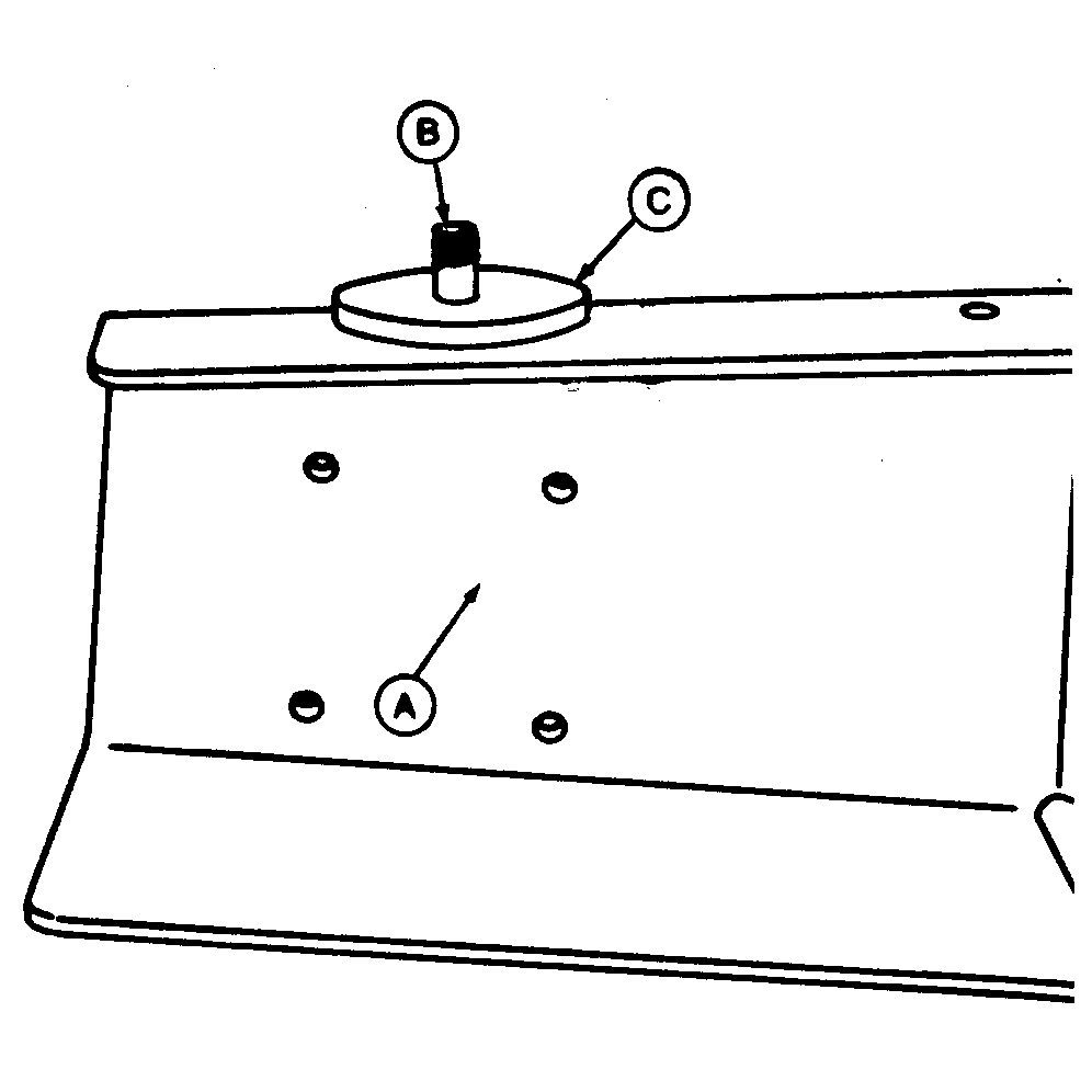
A - Toolbox
B - Bracket
Remove toolbox (A) and disassemble bracket (B).
-
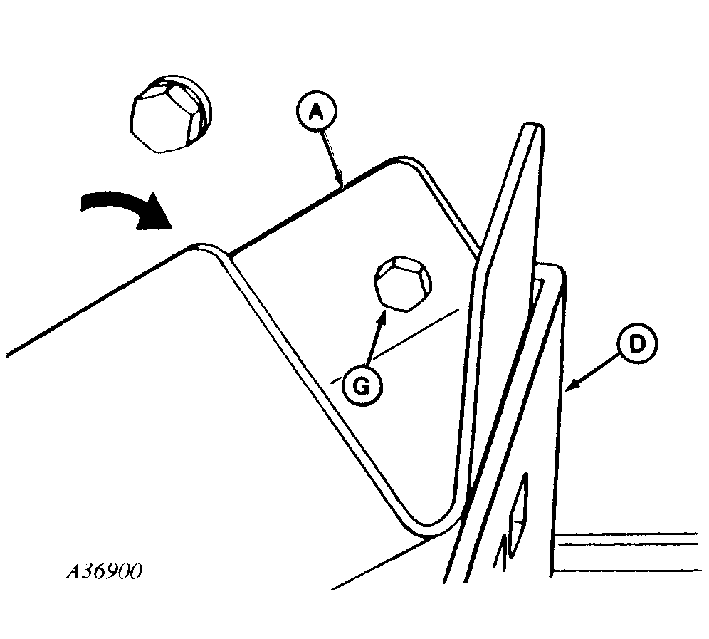
NOTE: Use M12 nuts provided if tractor frame holes are not threaded.

A35493-UN-03FEB93

A35494-UN-03FEB93

A36900-UN-26APR95
A - Mounting Bracket
B - Cap Screw
C - Spacer
D - Tool Box Bracket
E - Cap Screw
F - Top Hole
G - Cap Screw
Install radar mounting bracket (A) with one M12 x 35 cap
screw (B) and spacer (C). (Do not tighten cap screw.)
-
Install tool box bracket (D) with M12 x 35 cap screw (E). Line
up top hole (F) with hole in tractor frame as illustrated.
-
Rotate radar mounting bracket (A) and line up holes in both
brackets and insert M12 x 35 cap screw (G).
TIGHTEN ALL MOUNTING HARDWARE.
-

A35497-UN-03FEB93
A - Lock Nuts
Radar must be mounted with serial number tag facing up. Attach
with four 1/4 x 4 in. cap screws, four washers and four lock nuts
(A). Washers are installed between bracket and lock nuts.
-
Route harness past cab side tipping hinge to rear of cab and
connect to radar power harness. Secure with plastic self locking bands.
-
CAUTION: Avoid looking directly into the sensor face of radar
to prevent possible eye damage from microwave signal emitted from
radar sensor.
Nominal calibration for this radar installation is 7776. Radar
points 7 degrees to side to miss rear tire. Calibration is less than
other radars at 7836.
-

A35496-UN-03FEB93
A - Bracket
B - Existing Hardware
Install tool box bracket (A) as shown using existing hardware
(B) and install tool box.
|
|
AG,OUO1074,862-19-20000301
|
|