Accessing The Vacuum Meter

1. Disengage hopper latch (A). Lift hopper upward then rearward to remove from planting unit.


A-Hopper Latch

A38260

AG,OUO6074,1177 -19-04AUG00-1/4


2. Remove vacuum hose (A) from metering unit.


A-Vacuum Hose

A54242

AG,OUO6074,1177 -19-04AUG00-2/4


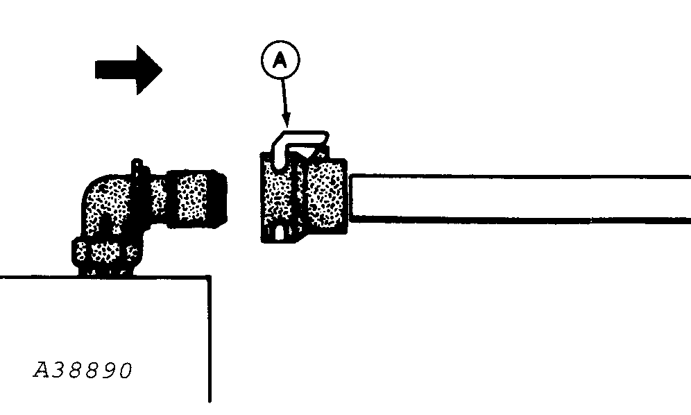
3. Squeeze retainer (A) and pull vacuum monitoring hose out of connector on units attached to monitor.


A-Retainer

A38890

AG,OUO6074,1177 -19-04AUG00-3/4


4. Disengage handle (A) and swing vacuum chamber open.


A-Handle

H44309

AG,OUO6074,1177 -19-04AUG00-4/4