Constructing Installation Band

IMPORTANT: To prevent wear and material buildup between press wheel caps and wheel, press wheel cap halves must be pulled tight to wheel when welded. An installation band will ensure that press wheel caps are properly installed.

1. To make an installation band, you will need:

a. 1-Press Wheel Cap

b. 4-Wheel Weight Spacers (or equivalent)

c. 2-5/8 x 7 in. Cap Screws

d. 4-5/8 in. Flat Washers

e. 2-5/8 in. Nuts

AG,OUO6023,25 -19-09MAR99-1/2


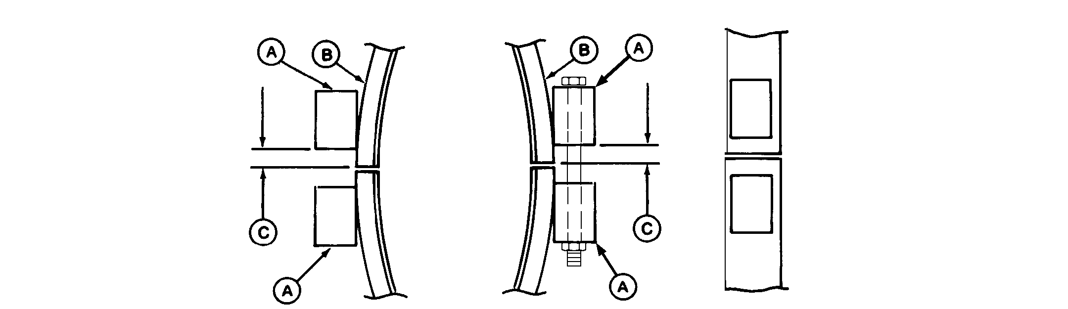
A43247
 

A-Wheel Weight Spacer

B-Press Wheel Cap

C-Gap

 

causym CAUTION: Hazardous fumes and hot slag can be generated when welding causing serious injury or death to you or others. Wear protective clothing, eyewear and respirator when welding.

2. Weld wheel weight spacers (A) to press wheel cap halves (B), 13 mm (1/2 in.) from edge (C). Be sure

spacers are aligned so 16 mm (5/8 in.) cap screw can be inserted through them.

3. Use 5/8 x 7 in. cap screw, flat washers and nut to clamp press wheel cap halves to wheel for welding.

AG,OUO6023,25 -19-09MAR99-2/2