Inspecting Boots and Disk Openers

Poor opener penetration may be a result of worn disk openers. Uneven seed depth may be a result of worn boots.

OUO6023,00017C6 -19-18MAR03-1/2


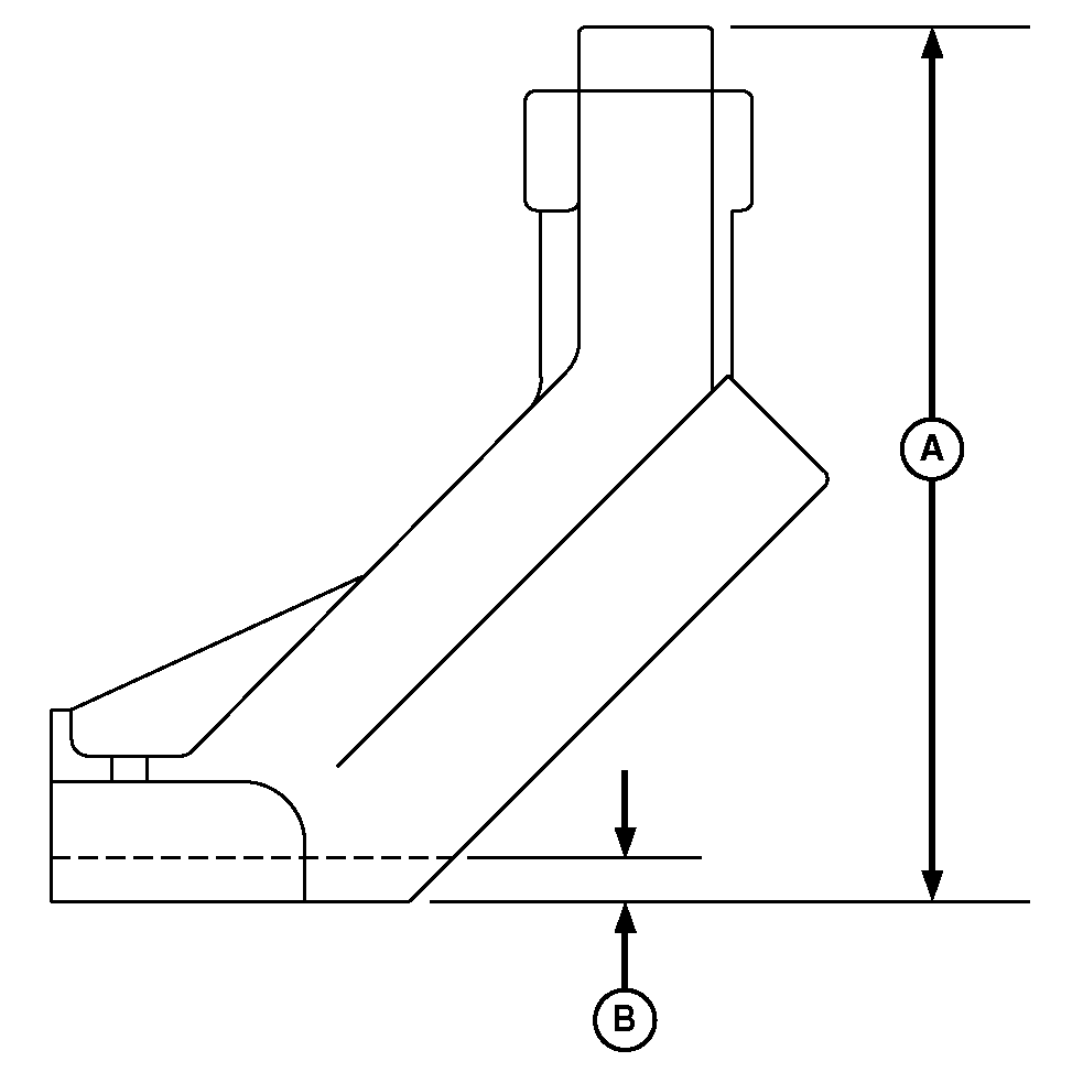
Measure boot and replace if bottom edge (B) is worn 12.7 mm (0.5 in.) or more or if overall height (A) is 287 mm (11.3 in.) or less.

Repositioning seed boot may extend service life. Refer to POSITIONING SEED BOOTS in Preparing The Machine section.

Diameter of new disk opener is 457 mm (18 in.). Replace disk opener when uneven seeding depth due to poor penetration occurs or if disk opener diameter is less than specification .

Specification

Disk Opener -Diameter  406 mm (16 in.)
See REPLACING DISK OPENERS AND BEARINGS in this section for disk replacement.

N47469


A-Overall Height
B-Bottom Edge

OUO6023,00017C6 -19-18MAR03-2/2