Detaching Machine from Tractor

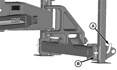
1. Remove hair pins (B) and drilled pins (A) and lower hitch stands.

NOTE: When installing drilled pin (A), handle of pin should be to the front (nearest to tractor).

2. Install drilled pins (A) and hair pins (B).

causym CAUTION: To avoid injury from escaping hydraulic oil under pressure. Remove all trapped pressure out of machine hydraulic system.

NOTE: Not necessary to turn off tractor if detaching machine from John Deere Tractors with ISO couplers.

3. Lower machine onto ground or onto service locks. See LOWERING/RAISING MACHINE IN TRANSPORT POSITION FOR FILLING AND/OR SERVICING in Transporting section.

4. TRACTORS WITH ELECTRO/HYDRAULIC SCV'S: Leave engine running.

TRACTORS WITH MECHANICAL SCV'S: Stop engine, turn key switch on.

5. Place SCV levers in float position and frame control switch in PLANT position. Place drawbar control switch in HITCH position, if equipped.

6. Depress all remaining frame control switches in both directions.

7. Place frame control switch in TRANS position.

8. Depress all remaining frame control switches in both directions.

9. Turn tractor key switch off.

A49474

Two-Point Hitch

A52387

Drawbar Hitch


A-Drilled Pin
B-Hair Pin

OUO6074,00009C4 -19-13MAY05-1/2


10. Disconnect all hydraulic hoses (A) and seven pin connector (B). Place hoses and harness into holding bracket as illustrated.

11. Disconnect monitor and frame control harnesses.

12. Disconnect liquid herbicide hoses (if equipped).

13. TWO-POINT HITCH: Raise handles on tractor quick-coupler and lower the tractor rockshaft until the quick-coupler is below the machine hitch pins.

DRAWBAR HITCH: Remove hitch pin and safety chain.

14. Drive tractor away slowly.

A52426


A-Hoses, Hydraulic
B-Connector, 7-Pin

OUO6074,00009C4 -19-13MAY05-2/2