Planter Drawbar and Tractor Tongue Protector Plate

Remove protector plate (A) from planter.


A-Protector Plate

A53674

OUO6435,0001AED -19-05MAR04-1/3


8000 Series Tractors

Remove cap screws (A) and hitch retainer (B) from tractor.

Install protector plate (C) and hitch retainer onto tractor and tighten hitch retainer cap screws (A) to specification.

Specification

M20 Cap Screws (A) -Torque 435 N·m (325 lb-ft)

NOTE: Check Operators Manual for proper torque specification if your tractor model is not shown.


A-Cap Screws
B-Hitch Retainer
C-Protector Plate

A53946

8000 Series Tractor

A53945

8000 Series Tractor

OUO6435,0001AED -19-05MAR04-2/3


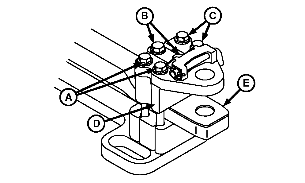
9000 Series Tractors

Remove cap screws (A), (B), (C) and hitch retainer (D) from tractor.

Install protector plate (E) and hitch retainer onto tractor and tighten hitch retainer cap screws to specification.

Specification

M22 Cap Screws (B) -Torque 750 N·m (550 lb-ft)
M20 Cap Screws (A) and (C) -Torque 610 N·m (450 lb-ft)

NOTE: Check Operators Manual for proper torque specification if your tractor model is not shown.

A53944

9000 Series Tractor


A-Cap Screws
B-Cap Screws
C-Cap Screws
D-Hitch Retainer
E-Protector Plate

OUO6435,0001AED -19-05MAR04-3/3