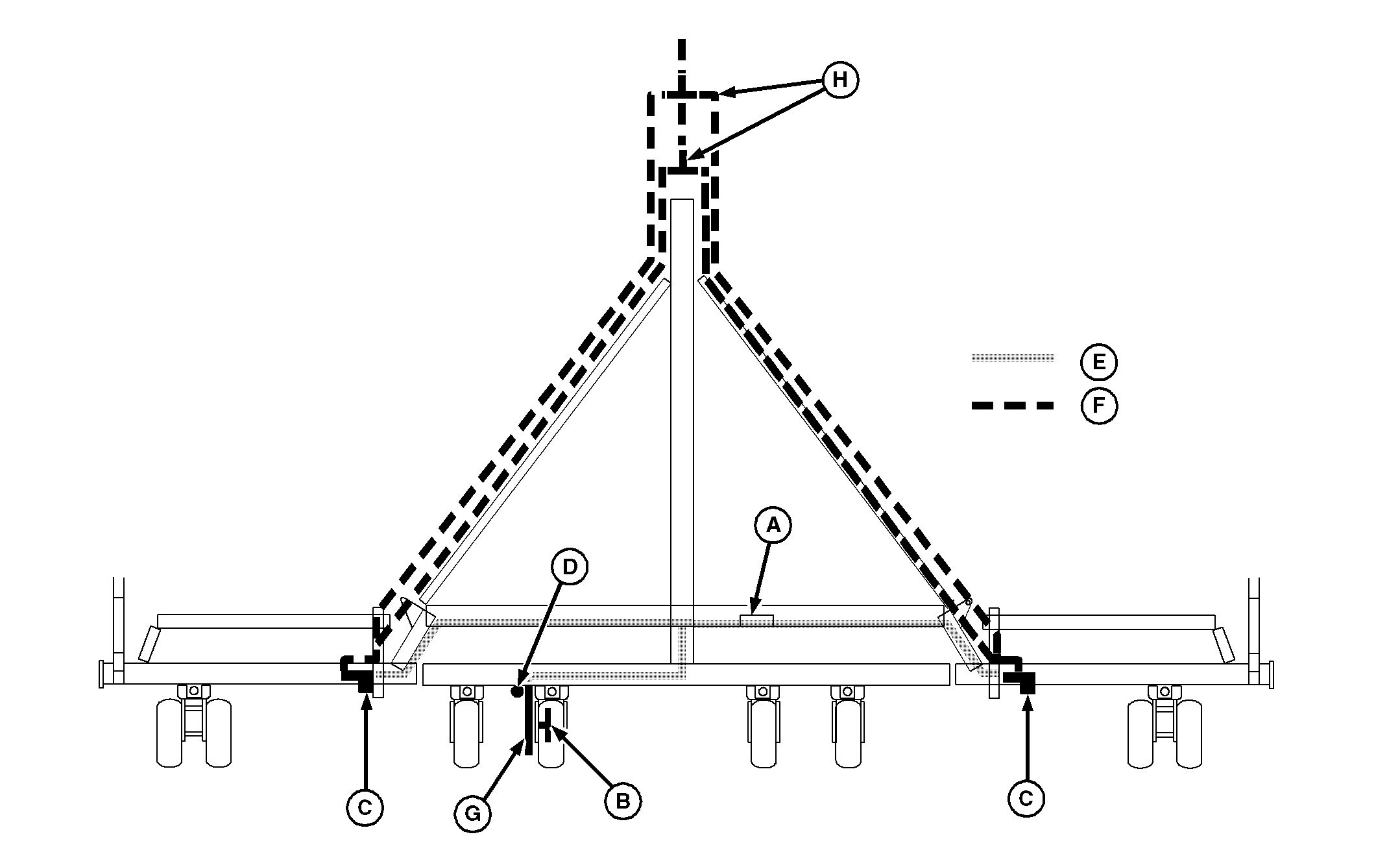
Component Locations-1770 12 Row Wide

A61086


A-Controller
B-Motion Sensor


C-VRD Motor
D-Height Sensor


E-Electrical
F-Hydraulic


G-Shield

OUO6074,0001057 -19-10OCT07-1/1