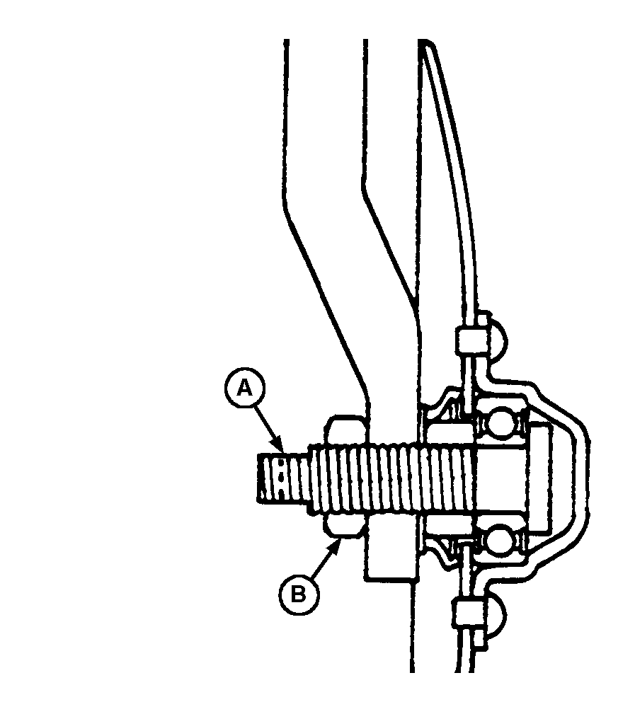
Disk Closing Attachment

1. Loosen jam nut (B).

2. Place wrench on flat surfaces of disk bearing bolt (A) and tighten bolt to specification.

Specification

Bearing Bolt -Torque 203 N·m (150 lb-ft)

3. Place wrench on flat surfaces of disk bearing bolt to maintain proper torque adjustment of the bolt and tighten jam nut to specification.

Specification

Jam Nut -Torque 203 N·m (150 lb-ft)


A-Disk Bearing Bolt
B-Jam Nut

A47137

OUO1074,00000BB -19-28FEB01-1/1