Attach Machine to Tractor (Drawbar Hitch)

Install protector plate on tractors attached to 24 Row machines only. Remove protector plate (A) from planter.


A-Protector Plate

A53674

OUO6435,0001BAC -19-25JUN08-1/8


8000 Series Tractors

Remove cap screws (A) and hitch retainer (B) from tractor.

Install protector plate (C) and hitch retainer onto tractor and tighten hitch retainer cap screws (A) to specification.

Specification

M20 Cap Screws (A) -Torque 435 N·m (325 lb-ft)

NOTE: Check tractor operator's manual for proper torque specification if tractor model is not shown.


A-Cap Screws
B-Hitch Retainer
C-Protector Plate

A53946

8000 Series Tractor

A53945

8000 Series Tractor

OUO6435,0001BAC -19-25JUN08-2/8


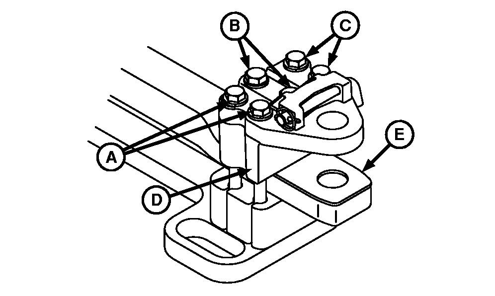
9000 Series Tractors

Remove cap screws (A), (B), (C) and hitch retainer (D) from tractor.

Install protector plate (E) and hitch retainer onto tractor and tighten hitch retainer cap screws to specification.

Specification

M22 Cap Screws (B) -Torque 750 N·m (550 lb-ft)
M20 Cap Screws (A) and (C) -Torque 610 N·m (450 lb-ft)

NOTE: Check tractor operator's manual for proper torque specification if tractor model is not shown.

A53944

9000 Series Tractor


A-Cap Screws
B-Cap Screws
C-Cap Screws
D-Hitch Retainer
E-Protector Plate

OUO6435,0001BAC -19-25JUN08-3/8


causym CAUTION: Avoid serious injury or death resulting from loss of control or rear end collision during transport of the implement and any towed load behind the implement.

Attach a properly sized safety tow chain between tractor, machine, and any towed load.

Do not transport on roadways with machine more than one-half full.

Do not road transport a towed load (such as a fertilizer tank) unless it is empty.

Ensure that proper drawbar supports are installed on tractor.

Never exceed 13 600 kg (30 000 lb.) of towed weight behind the machine while in the field.

Transport only with a properly sized tractor. Refer to CALCULATE MINIMUM TRACTOR WEIGHT FOR SAFE TRANSPORT in Prepare Tractor section.

Do not transport on a roadway unless the towed load has two functioning flashing warning lights.

Attach an appropriate lighting harness to the 7-pin connector. Contact your John Deere dealer for accessory lights and lighting harnesses.

Ensure that towed load has an appropriate SMV emblem and rear reflectors.

Ensure that the reflective material and the SMV are clean and visible.

When towing on a roadway, refer to TOW LOADS SAFELY in the Safety section.

NOTE: It could be necessary to connect hydraulic hoses and move hitch into position.

1. Back tractor to hitch.

A48848

OUO6435,0001BAC -19-25JUN08-4/8


IMPORTANT: Fan motor case drain hose MUST be attached to low-pressure drain connection PRIOR to inlet and return hoses being connected. Case drain MUST have LESS THAN 172 kPa (1.72 bar) (25 psi) or fan motor damage occurs.

IMPORTANT: Install a Low-Pressure Drain Line Kit when towing tractor is not equipped.

IMPORTANT: DO NOT USE other ports at the rear of the tractor which are similar in appearance and size to low-pressure drain port. Due to high back-pressure (over 172 kPa 1.72 bar] [25 psi]), drain connection to these ports RESULTS in fan motor damage.

2. Attach case drain hose (A) to tractor low-pressure drain coupler (B).


A-Case Drain Hose
B-Low-Pressure Drain Coupler

A53393

Flush Face Case Drain Tip

A53855

8000 Series Tractor Shown

OUO6435,0001BAC -19-25JUN08-5/8


IMPORTANT: Check tractor hydraulic oil level after filling cylinders with oil for the first time.

IMPORTANT: It is important to rephase hydraulic lift system before operating any other functions.

NOTE: When machine is equipped with drawbar hitch and automatic markers, markers and hitch use the same hoses.

3. Attach drawbar hitch hoses (A) to tractor.

4. If necessary, raise or lower hitch to align with tractor drawbar.

To raise or lower drawbar hitch, proceed as follows:

a. Place DRAWBAR-HITCH control console switch in HITCH position.

b. Activate marker SCV to raise or lower drawbar hitch.

c. When hitch is in proper position, place MARKER-HITCH switch in MARKER position.

A47128

8000 Series Tractor Shown


A-Drawbar Hitch Hoses

OUO6435,0001BAC -19-25JUN08-6/8


A52383

8000 Series Tractor Chain Routing

A60201

9000 Series Tractor Chain Routing

5. Install drawbar pin (A) and secure.

6. Install safety chain (B) through loop (C) and drawbar support (D).

7. Press spring latch (E) and rotate safety lock (F) open.

8. Attach hook to chain between drawbar support (D) and loop (C).

9. Press spring latch (E) and rotate safety lock (F) into closed position.


A-Drawbar Pin
B-Safety Chain
C-Loop
D-Support
E-Spring Latch
F-Safety Lock

A61819

9000T Series Tractor Chain Routing

A52496

Safety Lock Open

A52497

Safety Lock Closed

OUO6435,0001BAC -19-25JUN08-7/8


10. Raise hitch to remove weight from hitch stands (A).

11. Raise and secure hitch stands as shown.


A-Hitch Stands

A62725

OUO6435,0001BAC -19-25JUN08-8/8