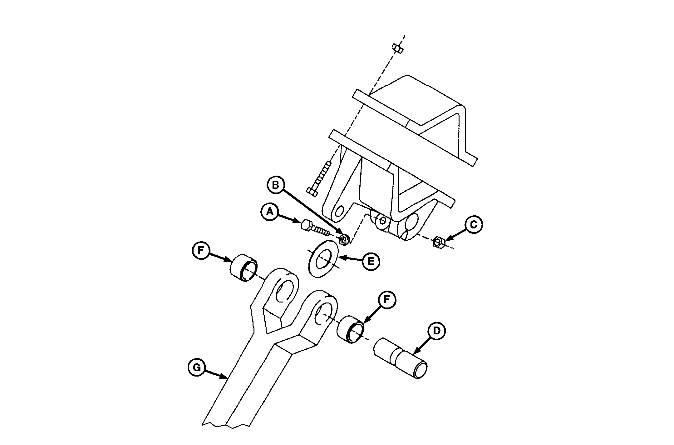
Replacing Opener Arm Pivot Bushings

N49844


A-Cap Screw, 5/8 x 3 In. (Grade 8)


B-Washer
C-Lock Nut


D-Pivot Pin
E-Thrust Washer


F-Arm Pivot Bushings
G-Opener Arm

NOTE: Clean dirt from parts prior to removal.

1. Remove hardware and pivot pin (D) from arm. Retain thrust washer (E).

2. Drive old bushings from arm.

IMPORTANT: Be careful not to damage outer edges of new bushings when installing.

3. Press new bushings into arm bores, flush to 0.76 mm (0.03 in.) below outside surface.

IMPORTANT: Thrust washer must be installed between arm and anchor castings, on same side of arm as disk.

4. Position thrust washer on disk side of arm (between arm and anchor) and attach arm with pivot pin. Be careful not to damage bushings when installing pin.

5. Install pin retaining hardware and tighten to specification.

Specification

Pin Retaining Hardware -Torque 163 N·m  (120 lb-ft)

OUO6023,000170D -19-18MAR03-1/1