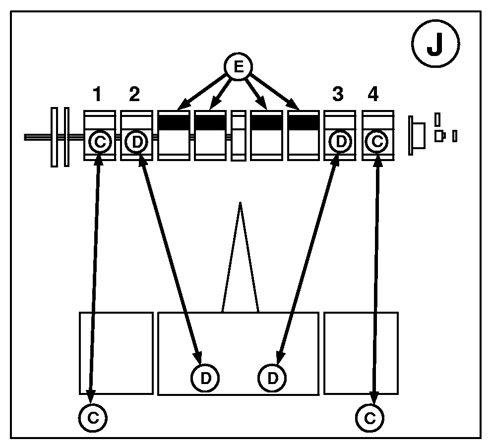
Meter Cartridge/Seeding Tool Diagrams

A56305
A56306


A-9-Port Header/3 Tuning Rings
B-10-Port Header/2 Tuning Ring


C-11-Port Header/1 Tuning Ring
D-12-Port Header/0 Tuning Rings


E-Meter Doors
F-Cart Meter Cartridge
G-Direction Of Travel
H-Seeding Tool


I-8.5 m (28 ft) with 15.2 cm (6 in.) Spacing
J-8.5 m (28 ft) with 19.1 cm (7.5 in.) Spacing

When operating air cart with a John Deere seeding tool, refer to Tool Operator's Manual for Meter Cartridge/Seeding Tool Diagrams.

OUO6045,000061A -19-18JUL05-1/1