Tow-Behind Field Hitch

A57784


A-Short Length
B-Mid-Length
C-Long-Length


D-Air Cart
E-Minimum/Maximum Hitch Length


F-Hitch Tube
G-Hitch Frame Extension


H-Cross-Support

Field hitch is factory assembled for shortest length.

Hitch tube length is adjustable to provide clearance for rear bar attachments, such as press wheels and harrow.

Some applications require tubes be set to mid-length or long-length positions.

Hitch frame extension is required in mid length and long length positions.

OUO6076,0000207 -19-05JUN09-1/3


Hitch Tube Settings-Tow-Behind
Tillage Model Hitch Tube Setting Hitch Frame Extension Minimum Hitch Length mm (in.) Maximum Hitch Length mm (in.)
1690/1850/1860/1870/1890/1895
1810 w/o Attachments
Short Length No 3402 (134) 3670 (145)
737
735/1810 w/ Attachments
1840 with Khart Packers
1830/1835 with Dual Air Cart Casters
Mid-Length Yes 4196 (165) 4383 (173)
1820/1840 w/240 Harrow
1830/1835 with Single Air Cart Casters
Long Length Yes 4945 (195) 5089 (200)

 

Cross-support adjustment is required for all installations, regardless of tube length settings.

Cross-support must be relocated to frame extension when mid-length or long-length settings are used.

Storage stands may need to be relocated closer to tube ends to support hitch when disconnected from tool.

OUO6076,0000207 -19-05JUN09-2/3


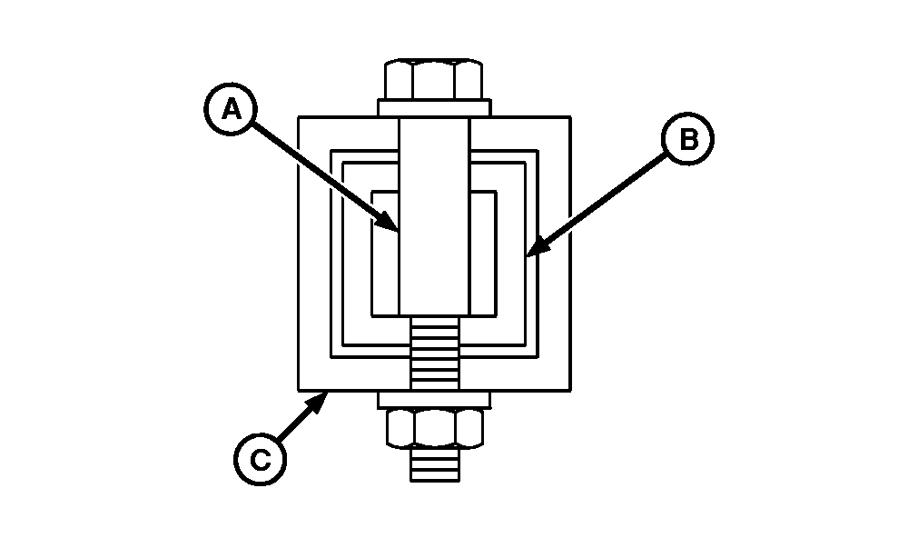
When moving hitch tube to mid-length or long-length position, assemble hitch tube hardware as shown.


A-Retainer Spacer
B-Inner Tube
C-Outer tube

A57785

OUO6076,0000207 -19-05JUN09-3/3