-

H45444-UN-02DEC92
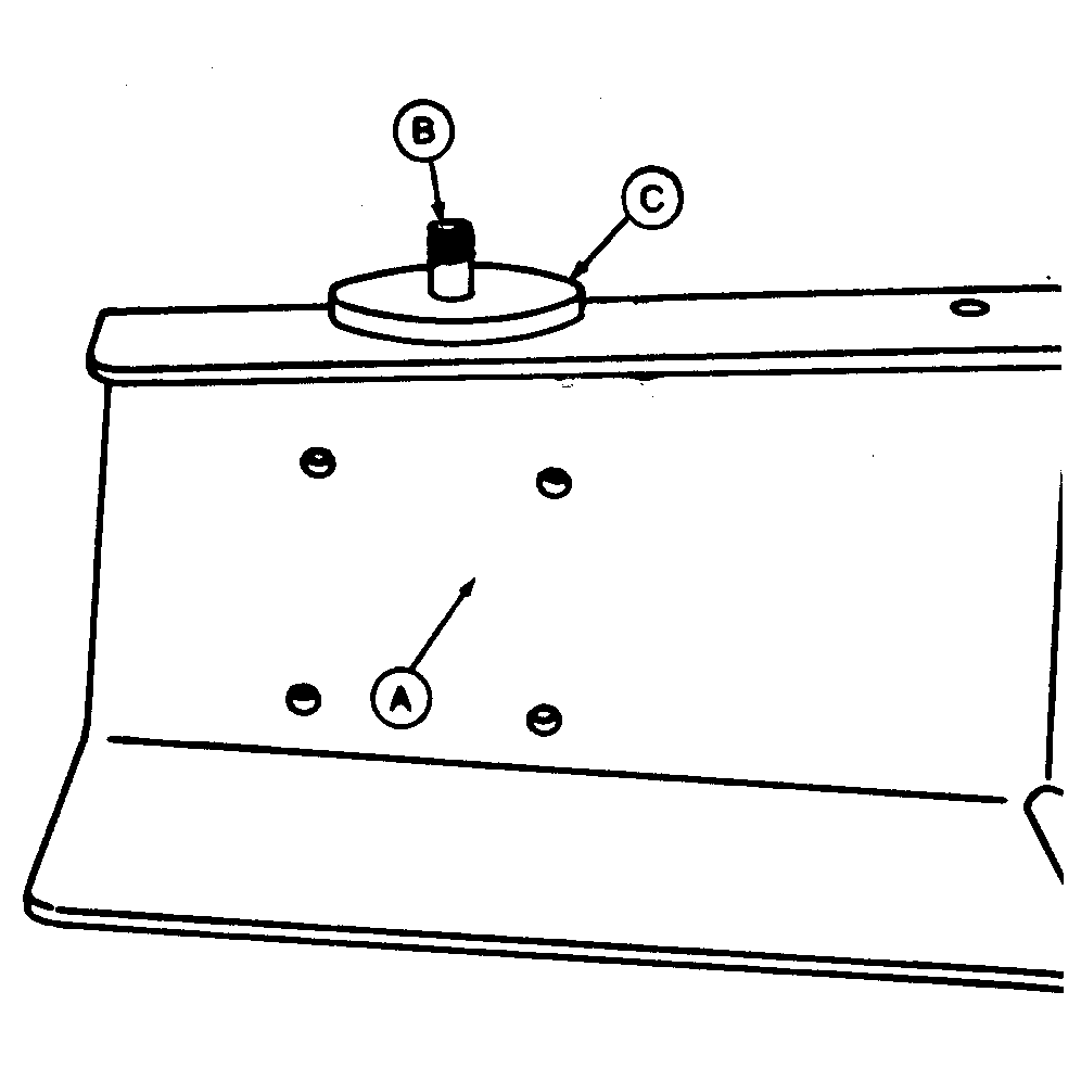
A - Toolbox
B - Bracket
Remove toolbox (A) and bracket (B).
-
NOTE: Use M12 nuts provided if tractor frame holes are not threaded.

A35493-UN-03FEB93

A35494-UN-03FEB93

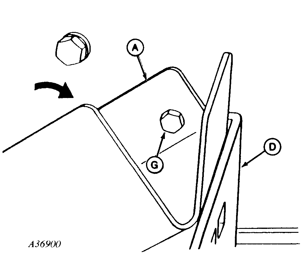
A36900-UN-26APR95
A - Mounting Bracket
B - M12 x 35 mm Cap Screw
C - Spacer
D - Tool Box Bracket
E - M12 x 35 mm Cap Screw
F - Top Hole
G - M12 x 35 mm Cap Screw
Install radar mounting bracket (A) with M12 x 35 mm cap screw
(B) and spacer (C). (Do not tighten cap screw.)
-
Install tool box bracket (D) with M12 x 35 mm cap screw (E).
Line up top hole (F) with hole in tractor frame as illustrated.
-
Rotate radar mounting bracket (A) and line up holes in both
brackets and install M12 x 35 mm cap screw (G).
-
Tighten all mounting hardware securely.
-
IMPORTANT: Radar must be mounted with serial number tag facing
up.

A35497-UN-03FEB93
A - Lock Nut (4 used)
Attach radar unit to bracket with four 1/4 x 4 in. cap screws,
four washers, and four lock nuts (A). Washers must be installed between
bracket and lock nuts.
-
Route harness past cab side tipping hinge to rear of cab and
connect to radar power harness. Secure with harness with tie bands.
-
CAUTION: Prevent possible eye damage from microwave signal emitted
from radar sensor. Avoid looking directly into the sensor face of
radar.
Nominal calibration for this radar installation is 7776. Radar
points 7 degrees to side to miss rear tire. Calibration is less than
other radars at 7836.
-

A35496-UN-03FEB93
A - Bracket
B - Existing Hardware
Install tool box bracket (A) as shown using existing hardware
(B).
-
Install tool box.