Cleanout and Inspection of Seed Hoppers and Meter Units

For best operation, empty hoppers thoroughly after each days use. Remove chaff, dust, and other foreign material.

To remove seed hopper from planting unit, disengage hopper latch (A) and lift hopper upward then rearward.


A-Hopper Latch

A38260

58 L (1.6 bu.) Seed Hopper

A56961

106 L (3 bu.) Seed Hopper

AG,OUO6074,1210 -19-22MAY09-1/6


Empty Vacuum Meter

To remove seed hopper from planting unit, disengage hopper latch (A) and lift hopper upward.


A-Hopper Latch

A38260

58 L (1.6 bu.) Seed Hopper

A56961

106 L (3 bu.) Seed Hopper

AG,OUO6074,1210 -19-22MAY09-2/6


Remove vacuum hose (A) from vacuum meter.


A-Vacuum Hose

A54242

AG,OUO6074,1210 -19-22MAY09-3/6


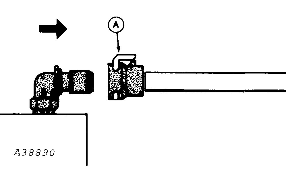
On vacuum meters equipped with vacuum gauge hose, squeeze retainer (A) and disconnect hose.

IMPORTANT: Use precautions as recommended by chemical manufacturers when handling parts coated with seed treatments. Use proper skin, eye, and respiratory protection.

Empty hopper and vacuum seed meter by inverting hopper. Rotate hopper so seed is slowly poured from LEFT-HAND REAR CORNER. When hopper is empty, some seed remains in meter housing. To empty this seed, rotate hopper back to operating position. Invert hopper again and pour from LEFT-HAND REAR CORNER to empty seed from meter housing.

Emptying Plateless Meters

IMPORTANT: Use precautions as recommended by chemical manufacturers when handling parts coated with seed treatments. Use proper skin, eye, and respiratory protection.

FINGER PICK-UP-Remove and invert hopper. Rotate hopper so seed is slowly poured from RIGHT-HAND REAR CORNER. When hopper is empty, some seed remains in meter housing. To empty this seed, rotate hopper back to operating position. Invert hopper again and pour from RIGHT-HAND REAR CORNER to empty seed from meter housing. Rotate meter flex drive to remove seeds from fingers and seed belt.

A38890


A-Retainer

AG,OUO6074,1210 -19-22MAY09-4/6


Inspect Plateless Meters

NOTE: If using seed treatments, remove any buildup in bottom of hopper.

FINGER PICK-UP-Remove two wing nuts (A) and pull finger pick-up unit straight up to disengage it from two mounting studs and retainer ring.

IMPORTANT: Avoid damage to meter brush. Do not turn finger pick-up mechanism backwards.

Turn meter shaft by hand to determine if mechanism is free of dirt, chaff, or other foreign material. If mechanism is obstructed or further disassembly of finger pick-up unit is required, see Service and Adjustment section.

H44516

Finger Pick-Up


A-Wing Nuts

AG,OUO6074,1210 -19-22MAY09-5/6


Inspect Vacuum Meter

NOTE: If using seed treatments, remove any buildup in bottom of hopper.

To inspect meter, lay hopper on side and open door (A) to remove seed disk. Turn meter hub (B) by hand to determine if mechanism is free of dirt, chaff, or other foreign material. Inspect brush for gaps, hub seal for cracks and vacuum seal for cracks and wear areas. If replacement is necessary, see Service and Adjustment section.


A-Door
B-Meter Hub

A51186

Vacuum Meter

AG,OUO6074,1210 -19-22MAY09-6/6