Prepare Drawbar for Planters with Drawbar Hitch

Remove Quick Coupler

1. Attach hoist (A) to quick coupler (B) and apply a small amount of tension.


A-Hoist
B-Quick Coupler

A37085

OUO6074,0000973 -19-22MAY09-1/7


NOTE: left-hand illustrated. Repeat for right hand.

2. Remove cap screw (A) and draft-link pin (B).


A-Cap Screw
B-Draft-Link Pin

A46000

OUO6074,0000973 -19-22MAY09-2/7


3. Remove quick-lock pin (A) and center link pin (B) from center link (C). Raise hoist and remove quick coupler.


A-Quick-Lock Pin
B-Center Link Pin
C-Center Link

A37087

OUO6074,0000973 -19-22MAY09-3/7


Install Drawbar Protector Plate

IMPORTANT: Install protector plate on tractors attached to 24 Row machines only.

1. A Heavy-Duty Drawbar Support must be installed on all 8000 and 9000 Series tractors. See your John Deere Dealer for parts.

A52423

8000 Heavy-Duty Drawbar Support Shown

OUO6074,0000973 -19-22MAY09-4/7


2. Remove protector plate (A) from planter.


A-Protector Plate

A53674

OUO6074,0000973 -19-22MAY09-5/7


3. On 8000 Series Tractors :

a. Remove cap screws (A) and hitch retainer (B) from tractor.

b. Install protector plate (C) and hitch retainer on tractor. Tighten hitch retainer cap screws (A) to specification.

Specification

M20 Cap Screws (A) -Torque 435 N·m (325 lb.-ft.)

NOTE: Check tractor operator's manual for proper torque specification if tractor model is not shown.


A-Cap Screws
B-Hitch Retainer
C-Protector Plate

A53946

8000 Series Tractor

A53945

8000 Series Tractor

OUO6074,0000973 -19-22MAY09-6/7


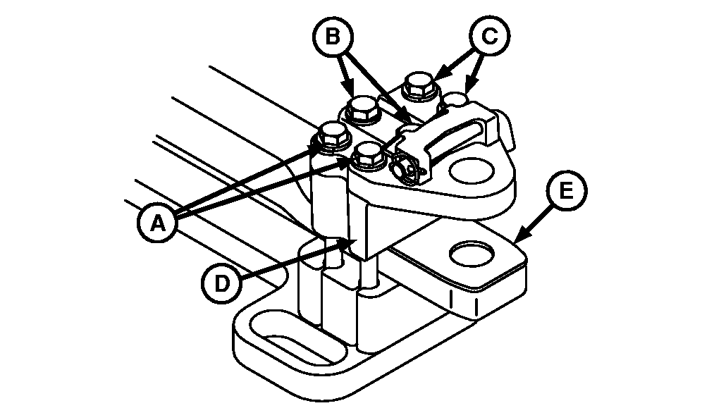
4. ON 9000 Series Tractors :

a. Remove cap screws (A), (B), (C) and hitch retainer (D) from tractor.

b. Install protector plate (E) and hitch retainer on tractor. Tighten hitch retainer cap screws to specification.

Specification

M22 Cap Screws (B) -Torque 750 N·m (550 lb.-ft.)

Specification

M20 Cap Screws (A) and (C) -Torque 610 N·m (450 lb.-ft.)

NOTE: Check tractor operator's manual for proper torque specification if tractor model is not shown.

A53944

9000 Series Tractor


A-Cap Screws
B-Cap Screws
C-Cap Screws
D-Hitch Retainer
E-Protector Plate

OUO6074,0000973 -19-22MAY09-7/7