Detach Machine from Tractor

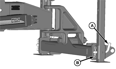
1. Remove spring locking pins (B) and drilled pins (A) and lower hitch stands.

NOTE: Handle of pin (A) is positioned toward tractor.

2. Install drilled pins (A) and spring locking pins (B).

causym CAUTION: To avoid injury from escaping hydraulic oil under pressure. Relieve hydraulic system pressure.

3. Lower machine onto ground or onto service locks. See LOWER or RAISE MACHINE IN TRANSPORT POSITION FOR FILL OR SERVICE in Operate Machine section.

4. Refer to tractor Operators Manual for SCV operation.

5. Place SCV levers in "Float" position and frame control switch in "Plant" position. Place drawbar control switch in "Hitch" position, if equipped.

6. Depress all remaining frame control switches in both directions.

7. Place frame control switch in "Trans" position.

8. Depress all remaining frame control switches in both directions.

9. Turn tractor key switch off.

A49474

Two-Point Hitch

A52387

Drawbar Hitch


A-Drilled Pin
B-Spring Locking Pin

OUO6074,00009C4 -19-22MAY09-1/2


10. Disconnect all hydraulic hoses (A) and seven pin connector (B). Place hoses and harness into holding bracket as illustrated.

11. Disconnect monitor and frame control harnesses.

12. Disconnect liquid herbicide hoses (if equipped).

13. TWO-POINT HITCH: Raise handles on tractor quick coupler and lower the tractor rockshaft until the quick coupler is below the machine hitch pins.

DRAWBAR HITCH: Remove hitch pin and safety chain.

14. Drive tractor away slowly.

A52426


A-Hoses, Hydraulic
B-Connector, 7-Pin

OUO6074,00009C4 -19-22MAY09-2/2