Turning View Warning Suppression A62927-UN-24JUL08
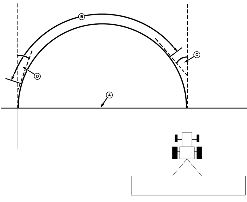
A - Headlands B - Warning Suppression C - Suppression Begins 45 Degrees Away D - Suppression Ends 13 Degrees Away When operating with a John Deere™ GreenStar™ display and using John Deere™ Guidance Products, full screen seed monitor warnings can be suppressed (B) when making turns on headlands (A).To enable turning view seed warning suppression, Turning View check box must be checked in Greenstar™2 Pro Guidance Setup. The following occurs when turning view is enabled: - Seed warning suppression and turning view begin when tractor is turned 45 degrees (C) away from the current pass using Straight Track.
- Turning View ends when tractor is within 13 degrees (D) of next pass.
- Seed warning suppression ends three seconds after turning view disappears from screen.
- Warnings are suppressed for a maximum of 22 seconds.
| OUO6064,00001F9-19-20100709 |
|