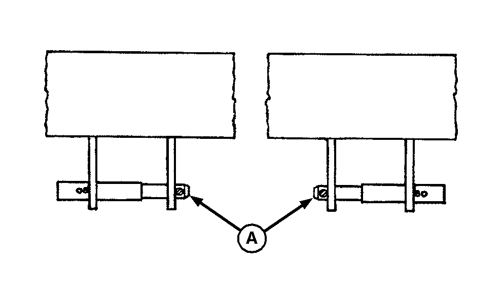
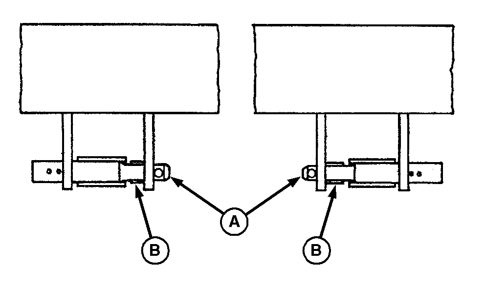
Positioning Rockshaft Hitch Pins
NOTE:

A48638-UN-04FEB02
Category 2 or 3N with Quick Coupler

A48639-UN-04FEB02
Category 2 without Quick Coupler or Cat. 3 with
Quick Coupler

A48640-UN-04FEB02
Category 2 or 3N without Quick Coupler
A - Hitch Pins
B - Bushings
Bushings (B) are required when attaching machine to tractors
with a category 2 or 3N without quick coupler. For parts, see your
John Deere dealer.
Position hitch pins (A) for type of tractor hitch being used.
|
|
OUO6074,00004C7-19-20020201
|
|