Replacing Seed Tubes—Double-Disk Opener
-

N38117-UN-04OCT88

N42150FL-UN-02NOV93

N42150FF-UN-02NOV93
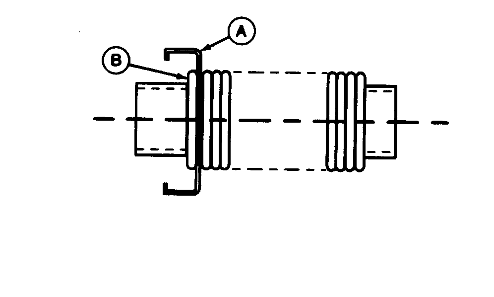
A - Cap
B - First Convolute
C - Collapsed Convolute
If required, cut out the center depression in the cap (A).
-
Identify the 19 mm (3/4 in.) end of the seed tube (the length
from the end of the tube to first convolute); then install this end
of tube through cap to the first convolute (B).
-
Make sure convolute of tube is not collapsed (C).
-

N42115BA-UN-06JAN92
A - Cap
Install holders with tubes in boot. Install cap (A), if not
already installed.
|
|
OUO6074,00004E8-19-20020204
|
|