Выравнивание
дискового сошника
ВАЖНО: При определенных
конфигурациях
рамы на положение
некоторых сошников
накладываются
ограничения.

A46927-UN-11APR01

A46924-UN-21NOV00
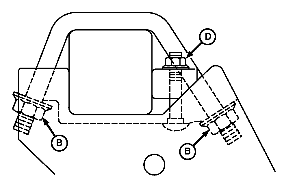
A - Сошник
B - Гайки для П-образных
болтов
C - Дисковое орудие,
D - Гайка конического
болта
ЖИДКИЕ УДОБРЕНИЯ.
Рекомендуемое
положение сошника
для внесения удобрений
от 50 до 125 мм (от 2 до 5
дюймов) с любой
стороны от двухдискового
сошника (А) высевающего
аппарата.
СУХИЕ УДОБРЕНИЯ.
Рекомендуемое
положение сошника
для внесения удобрений
– от 25 до 125 мм (от 1 до
5 дюймов) с любой
стороны от двухдискового
сошника (А) высевающего
аппарата.
Чтобы изменить
положение сошника
для внесения удобрений,
выполните следующее.
-
Ослабьте гайки
U-образного болта
сошника (B).
-
Ослабьте конические
болты (D).
-
Сдвиньте сошник
вправо или влево,
пока диск (C) не окажется
в нужном положении.
Чтобы закрепить
сошник для внесения
удобрений на трубчатой
раме, действуйте
следующим образом.
-
Затягивайте гайки
(В) U-образных болтов,
пока корпус сошника
не коснется и плотно
не сядет на днище
трубчатой рамы.
-
Затяните гайки
(D) конических болтов
согласно спецификации.
| Наименование | Единица измерения | Спецификация |
|
Гайка конического
болта | Крутящий
момент | 70 Нм (52 фунт-фута) |
-
Затяните гайки
(В) U-образных болтов
согласно спецификации.
| Наименование | Единица измерения | Спецификация |
|
Гайка П-образного
болта | Крутящий
момент | 175 Нм (129 фунт–футов) |
|
|
AG,OUO6074,1341-59-20080508
|
|