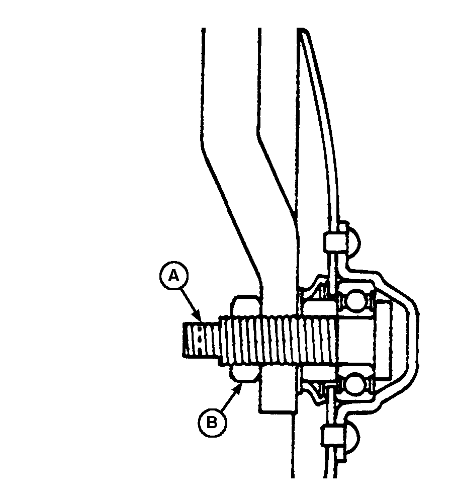
Дисковое заделывающее
устройство
-

A47137-UN-01MAR01
A - Болт подшипника
диска
B - Стопорная
гайка
Ослабьте стопорную
гайку (B).
-
Наложите гаечный
ключ на фаски болта
(A) подшипника диска
и затяните болт
согласно спецификации.
| Наименование | Единица измерения | Спецификация |
|
Болт подшипника
| Крутящий момент | 203 Нм (150 фунт-футов) |
-
Наложите гаечный
ключ на фаски болта
подшипника диска,
чтобы сохранить
надлежащий момент
затяжки болта, и
затяните контргайку
согласно спецификации.
| Наименование | Единица измерения | Спецификация |
|
Стопорная гайка
| Крутящий момент | 203 Нм (150 фунт-футов) |
|
|
OUO1074,00000BB-59-20010228
|
|