Натяжение приводных
цепей

A70496-UN-31JAN11
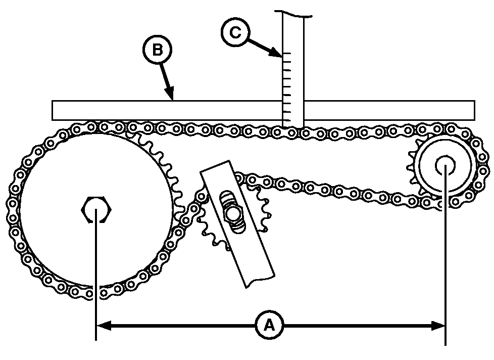
Приводная
цепь с натяжителем

A70495-UN-31JAN11
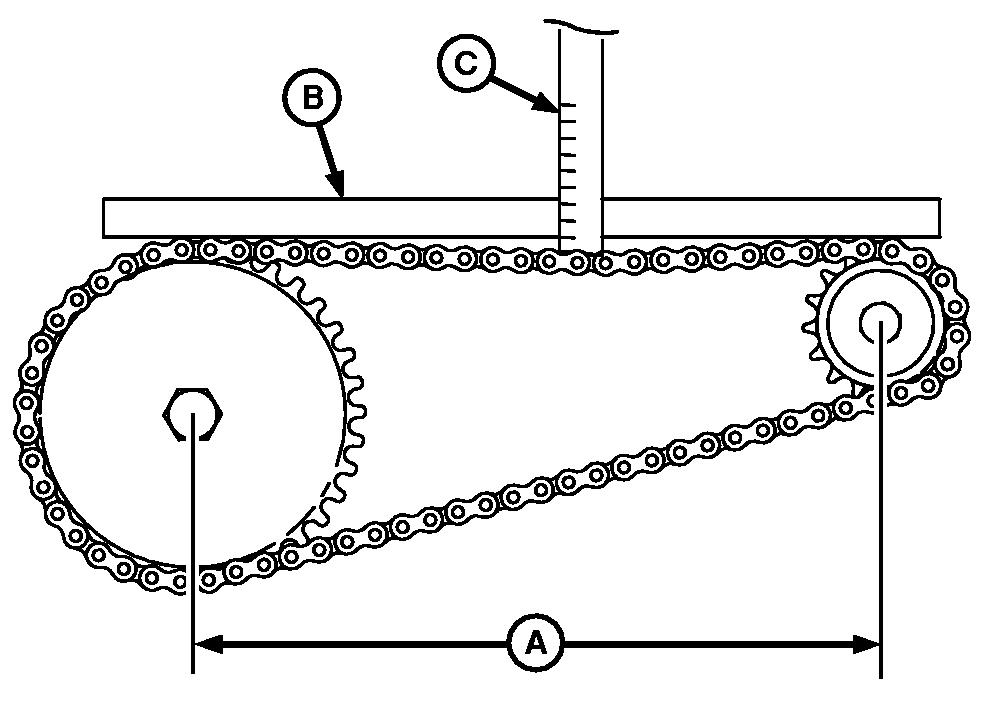
Приводная
цепь без натяжителя
A - Длина вала
B - Выверочная
линейка
C - Измерительная
линейка
Чтобы определить
слабину цепи, выполните
следующие действия.
-
Проверните привод,
чтобы натянуть
цепь.
-
Поместите прямой
край (B) над провисшим
участком цепи.
-
ПРИМЕЧАНИЕ: Следите, чтобы
во время измерения
одна сторона цепи
была натянута.
В центре вала
(A) с помощью рулетки
(C) измерьте слабину
от верха цепи до
нижней части прямого
края.
-
ВАЖНО: Не перетягивайте
цепи, это может
привести к быстрому
износу цепи или
поломке вала и подшипников.
Отрегулируйте
центральные части
валов или натяжителей
цепи согласно спецификации.
| Наименование | Единица измерения | Спецификация |
|
Цепь | Слабина | Слабина цепи
6,4 мм (1/4 дюйма) на 31 см
(12 дюймов) |
|
|
OUO6064,0000377-59-20110131
|
|