Выравнивание
привода трансмиссии
устройства для
внесения сухих
удобрений с валами
шнеков

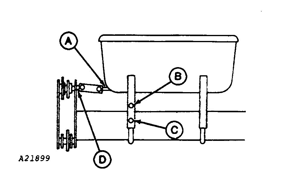
A21899-UN-06OCT88

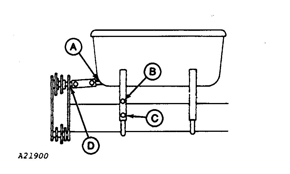
A21900-UN-06OCT88
A - Вал шнека
B - Верхняя гайка
П-образного болта
C - Нижняя гайка
П-образного болта
D - Вал привода
Если вал (А) шнека
внесения удобрений
оказался ниже ведущего
вала (D) трансмиссии,
отпустите нижнюю
гайку (С) П-образного
болта и затягивайте
верхнюю гайку
(В) П-образного болта,
пока вал шнека и
ведущий вал трансмиссии
не окажутся соосными.
Если вал (А) шнека
подачи удобрений
оказался выше ведущего
вала (D) трансмиссии,
отпустите верхнюю
гайку (С) П-образного
болта и затягивайте
нижнюю гайку (В)
П-образного болта,
пока вал шнека и
ведущий вал трансмиссии
не окажутся соосными.
После выравнивания
валов шнеков затяните
П-образные болты
ящиков устройств
для внесения удобрений.
|
|
OUO6074,0000269-59-20090506
|
|