Tighten Drive Chains

A70496-UN-31JAN11
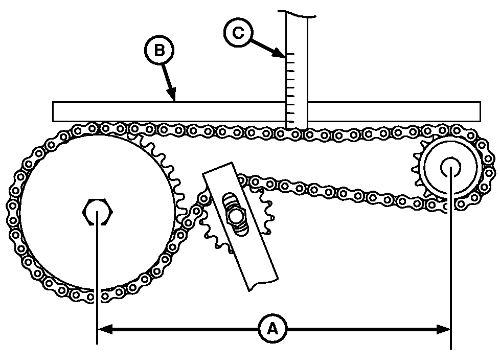
Drive Chain With Tension Idler

A70495-UN-31JAN11
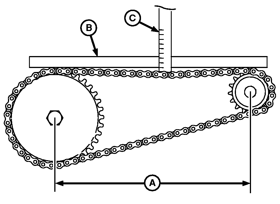
Drive Chain Without Tension Idler
A - Shaft Distance
B - Straight Edge
C - Ruler
To determine chain deflection, perform the following procedures:
-
Rotate drive to tighten chain.
-
Place straight edge (B) over the slack span of chain.
-
NOTE: Make sure that one side of the chain is taut during measurement.
At center of shaft distance (A), use a ruler (C) to measure
deflection from the top of the chain to the underside of the straight
edge.
-
IMPORTANT: Do not over tighten chains or rapid chain wear, shaft,
and bearing damage can result.
Adjust shaft centers or chain tighteners to specification.
| Item | Measurement | Specification |
|
Chain | Deflection | 6.4 mm (1/4 in.) of chain deflection per 31 cm (12 in.) |
|
|
OUO6064,0000377-19-20110131
|
|