Change Row Spacing From 76 cm (30 in.) To 38 cm (15 in.) DB60
47 Row
Check List for Following Procedure:
□
Drawbar in center position.
□
Remove seed from CCS tanks and row units.
□
Remove and install correct seed disks.
□
Manually unlock and lower rear rank row units.
□
Connect meter drives on rear rank row units.
□
Remove yellow plugs from all rear rank row units (vacuum and
seed delivery hoses).
□
If equipped, set pneumatic pressure on rear rank rows.
□
Adjust vacuum level.
□
Adjust CCS tank pressure.
□
Configure seed monitor to read all rows.
□
Adjust seed population.
□
Adjust markers to proper length.
-

A50391-UN-26SEP02
Seed Disk
Drawbar hitch in center position.
-
Empty seed from all row unit meters. See CLEAN OUT PRO-SERIES
XP™ SEED HOPPERS AND METERING UNITS in Operate Machine section.
-
Clean out CCS tanks. See CLEANING OUT CCS TANKS in Pro Series XP CCS Seed Delivery section.
-
Install identical seed disks in all meters.
-

A62715-UN-24JUN08
A - Location
Remove row unit lock-up bar from storage location (A) under
rear CCS tank steps.
-

A51033-UN-08NOV02

A60505-UN-26JUL07

A60517-UN-26JUL07
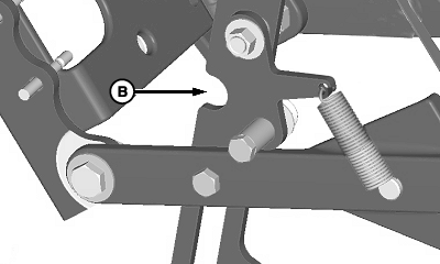
A - Lock-Up Bar
B - Notch
C - Lock-Up Latch
Place row unit lock-up latch (C) in notch (B) as shown.
-
NOTE: On machines with the rear hitch option, there is not enough
clearance for lock-up bar (A) to attach to row unit nearest hitch.
Extend drawbar cylinder and slowly lower frame until remaining row
units unlocks.
Unlock row units on rear rank using lock-up bar (A) as shown.
-
Machines with rear hitch, raise hitch
and slowly lower frame until row units are at full length of travel.
-
Raise machine and confirm row units are in unlocked position.
-
Engage meter drive on all rear rank row units. See ENGAGE METER
DRIVE in Operate Machine section.
-
NOTE: Save all vacuum and seed delivery plugs for future use.

A62717-UN-24JUN08
A - Vacuum Hose
B - Plug
C - Seed Delivery Hose
D - Plug
Remove vacuum hose (A) from row unit meters. Remove plug
(B) from meter vacuum ports, and reinstall vacuum hoses to meters.
-
Remove seed delivery hose (C) from row unit meters. Remove plugs
(D) from meter inlets and reinstall seed delivery hose to meters.
-

A50391-UN-26SEP02
Seed Disk
Install proper seed disk in rear rank row units.
-
Pressurize all rows. (See INTEGRATED PNEUMATIC DOWN FORCE in
your SeedStar 2™ and SeedStar XP™ Monitor Operator’s
Manual.)
-
Reset vacuum level.
-
NOTE: See your SeedStar™ Monitor Operator's Manual.
Change monitor settings to match number of rows planting.
-
Select Menu >> Planter button >> Rates softkey >> Select crop
name for crop to be planted, and check appropriate check box for number
of rows planting.
-
Make necessary adjustments to front rank row units for correct
seed placement and seed trench closing.
-
Adjust marker to correct length for desired row spacing. See
ADJUST MARKERS in this section.
|
|
OUO6064,0000478-19-20110419
|
|