Cleanout and Inspection of MaxEmerge™XP Seed Hoppers and Metering Units
IMPORTANT: Use precautions as recommended by chemical manufacturers
when handling parts coated with seed treatments. Use proper skin,
eye and respiratory protection.

A38260-UN-27NOV95
58 L (1.6 bu) Seed Hopper

A56961-UN-15AUG05
106 L (3 bu) Seed Hopper
A - Hopper Latch
For best operation, empty hoppers thoroughly after each days
use to remove chaff, dust and other foreign material.
To remove seed hopper from planting unit, disengage hopper latch
(A) and lift hopper upward then rearward.

A54242-UN-08APR04
A - Vacuum Hose
Remove vacuum hose (A) from vacuum meter.

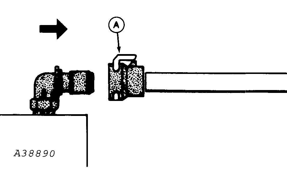
A38890-UN-12JAN96
A - Retainer
On vacuum meters equipped with vacuum gauge hose, squeeze
retainer (A) and disconnect hose.
IMPORTANT: Use precautions as recommended by chemical manufacturers
when handling parts coated with seed treatments. Use proper skin,
eye and respiratory protection.
Empty hopper and vacuum seed meter by inverting hopper. Rotate
hopper so seed is slowly poured from LEFT-HAND REAR CORNER. When hopper
is empty, some seed will remain in meter housing. To empty this seed,
rotate hopper back to operating position. Invert hopper again and
pour from LEFT-HAND REAR CORNER to empty seed from meter housing.
NOTE: If using seed treatments, remove any buildup that may
occur in bottom of hopper.
IMPORTANT: Avoid damage to meter brush. Do not turn finger pick-up
mechanism backwards.
Turn meter shaft by hand to determine if mechanism is free of
dirt, chaff, or other foreign material. If mechanism is obstructed
or further disassembly of finger pick-up unit is required, see Service
section.

A51186-UN-19NOV02
Vacuum Meter
A - Door
B - Meter Hub
To inspect meter, lay hopper on side and open door (A) to
remove seed disk. Turn meter hub (B) by hand to determine if mechanism
is free of dirt, chaff or other foreign material. Inspect brush for
gaps, hub seal for cracks and vacuum seal for cracks and wear areas.
If replacement is necessary, see Service section.
|
|
OUO6435,0001E05-19-20090501
|
|