Safety Features

A56170-UN-21MAR06
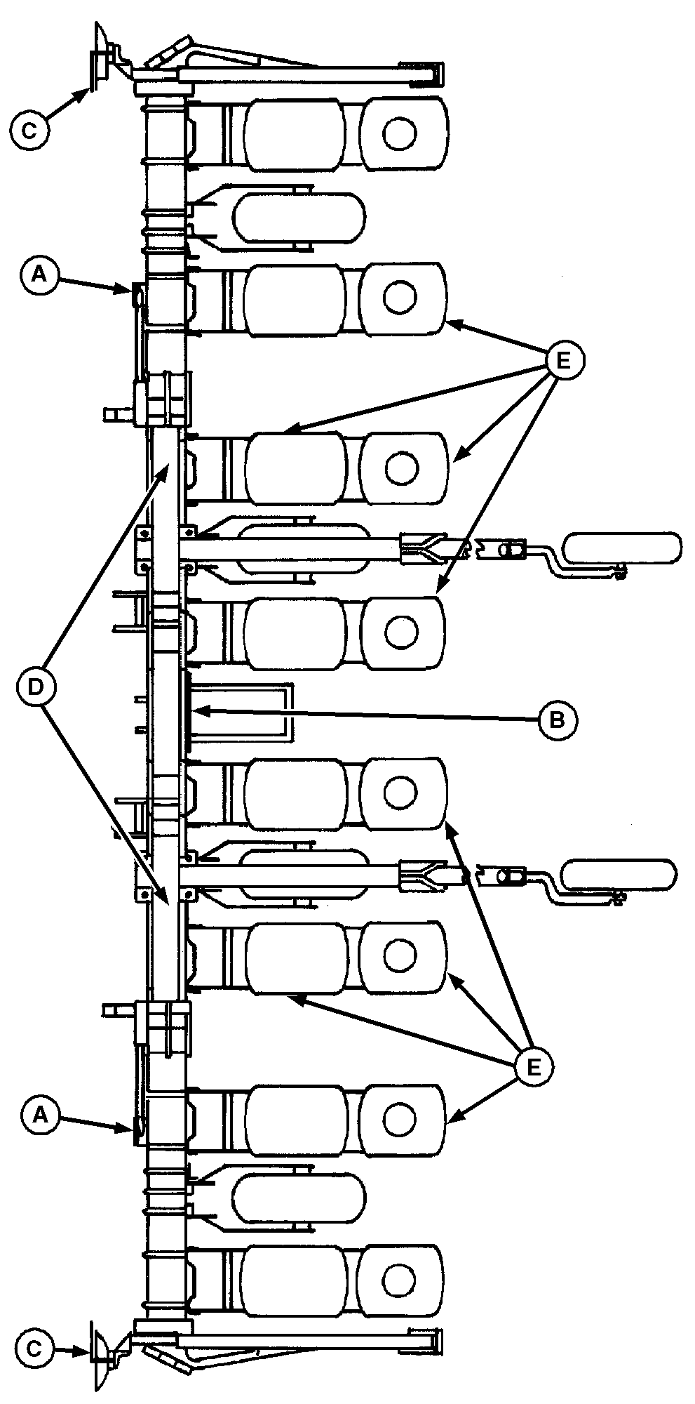
1720 Stack-Fold Planter

A63327-UN-30SEP08
1720 CCS Stack Fold Planter
A - Roadway Lights and Reflectors
B - Slow Moving Vehicle Emblem
C - Marker Blade Guard
D - Roadway Transport Lights
E - Reflectors
1720 PLANTER: In addition to the
safety features shown here, other components and systems, safety signs
on the machine, and safety messages and instructions in the Operator's
Manual contribute to the safe operation of this planter when combined
with the care and concern of a capable operator.
The construction of this implement may not meet all local or
national requirements for transport on a public roadway. In regions
or countries that have national certification requirements for roadway
transport, it may be impossible for this implement to be approved
for such roadway transport. The customer is responsible for understanding
and complying with all local, regional, and national requirements
regarding roadway transport.
|
|
DT31797,00002ED-19-20090501
|
|