Cleanout and Inspection of Seed Hoppers and Meter Units

A38260-UN-27NOV95
58 L (1.6 bu.) Seed Hopper

A56961-UN-15AUG05
106 L (3 bu.) Seed Hopper
A - Hopper Latch
For best operation, empty hoppers thoroughly after each days
use. Remove chaff, dust, and other foreign material.
Emptying Vacuum Meter

A38260-UN-27NOV95
58 L (1.6 bu.) Seed Hopper

A56961-UN-15AUG05
106 L (3 bu.) Seed Hopper
A - Hopper Latch
To remove seed hopper from planting unit, disengage hopper latch
(A) and lift hopper upward.

A54242-UN-08APR04
A - Vacuum Hose
Remove vacuum hose (A) from vacuum meter.

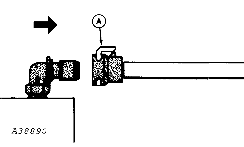
A38890-UN-12JAN96
A - Retainer
On vacuum meters equipped with vacuum gauge hose, squeeze
retainer (A) and disconnect hose.
IMPORTANT: Use precautions as recommended by chemical manufacturers
when handling parts coated with seed treatments. Use proper skin,
eye, and respiratory protection.
Empty hopper and vacuum seed meter by inverting hopper. Rotate
hopper so seed is slowly poured from LEFT-HAND REAR CORNER. When hopper
is empty, some seed remains in meter housing. To empty this seed,
rotate hopper back to operating position. Invert hopper again and
pour from LEFT-HAND REAR CORNER to empty seed from meter housing.
Inspecting Plateless Meters
NOTE: If using seed treatments, remove any buildup in bottom
of hopper.
Inspecting Vacuum Meter
NOTE: If using seed treatments, remove any buildup in bottom
of hopper.

A51186-UN-19NOV02
Vacuum Meter
A - Door
B - Meter Hub
To inspect meter, lay hopper on side and open door (A) to
remove seed disk. Turn meter hub (B) by hand to determine if mechanism
is free of dirt, chaff, or other foreign material. Inspect brush for
gaps, hub seal for cracks and vacuum seal for cracks and wear areas.
If replacement is necessary, see Service and Adjustments section.
|
|
DT31797,00002FF-19-20090522
|
|