Tighten Disk Closing Attachment

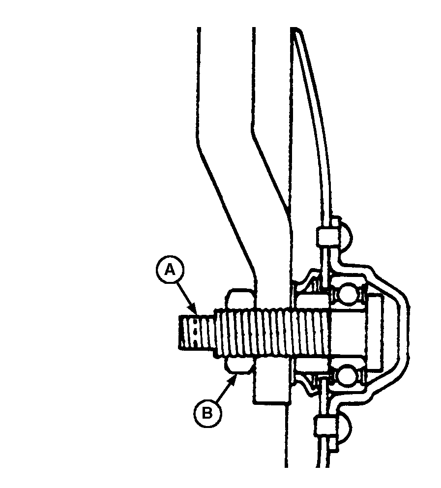
  1. A47137
    A47137-UN-01MAR01

    A - Disk Bearing Bolt

    B - Jam Nut

    Loosen jam nut (B).



  2. Place wrench on flat surfaces of disk bearing bolt (A) and tighten bolt to specification.

    ItemMeasurementSpecification
    Bearing BoltTorque203 N˙m (150 lb-ft)

  3. Place wrench on flat surfaces of disk bearing bolt to maintain proper torque adjustment of the bolt and tighten jam nut to specification.

    ItemMeasurementSpecification
    Jam NutTorque203 N˙m (150 lb-ft)

DT31797,0000322-19-20090507