-
IMPORTANT: Damage to machine can occur during transport when
machine is improperly leveled.
NOTE: Lift assist wheels must always face rearward when leveling
machine.
NOTE: Machine frame height must be set before leveling machine.
See ADJUSTING FRAME HEIGHT in Service and Adjustments section.

A38228-UN-10APR96
1710 Shown
A - Lift-Assist Wheels
Drive tractor and machine on level ground.
-
Lower machine to planting position while driving forward.
-
Raise lift assist wheels (A) off the ground if possible.
-

A34524-UN-10OCT88

A64721-UN-22MAY09
A - Center Link
B - Planting Unit
C - Parallel Arms
Level frame front-to-rear with tractor center link (A).
-
Check to be sure planting unit planting units (B) are parallel
with ground. Adjust center link and drive-gauge wheels as needed.
-
When planting, parallel arms (C) must be parallel to the ground.
Periodically check machine to be certain planting units are
running level.
-
Raise machine completely.
-

A34521-UN-10OCT88

A64722-UN-22MAY09

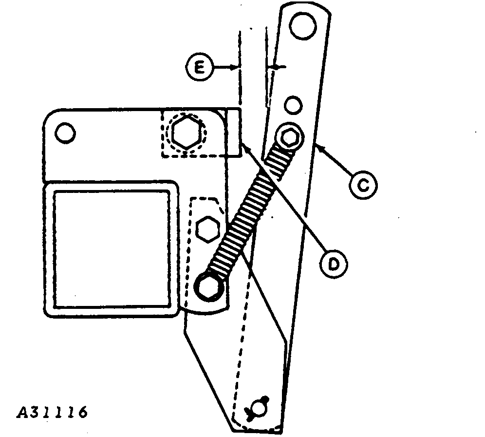
A31116-UN-12OCT88
A - Lift Links
B - Center Link
C - Mast link
D - Stop
E - Dimension
F - Axle Collars
G - Axles
Check to see if dimension (E) between mast link (C) and stop
(D) is at least 75 mm (3 in.).
If dimension (E) is not at least 75 mm (3 in.), proceed as follows:
-
Shorten tractor lift links (A and B) to shortest length. See
your tractor operator's manual.
-
Lower machine completely.
-
Loosen axle collars (F) and raise axles (G) upward.
-
Tighten axle collars.
-
Raise machine completely, check dimension on pivoting center
mast and adjust as necessary.