Setup Using Rigid Center Mast
IMPORTANT: Lift-assist wheel attachments cannot be used with
rigid center mast. Operating with lift-assist wheels may result in
lift-assist wheel and/or frame failure.

A30919-UN-12OCT88
Center mast is configured for rigid attachment to tractor.
1720 16 Row machines with lift assist
wheels do not use this option.
1720 12 Row Wide

A35073-UN-09NOV92
Pin positioned for Category 3 and 3N WITH Quick-Coupler.
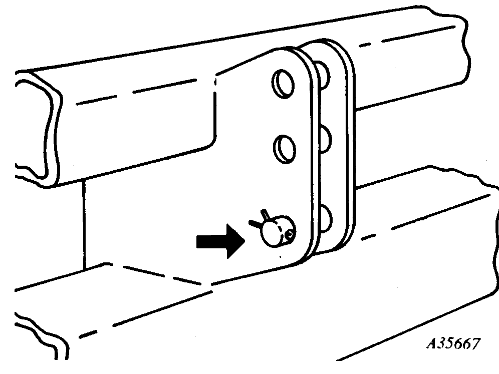
1720 8 Row Wide and 12 Row Narrow

A35667-UN-05NOV93
Pin positioned for Category 2 WITH Quick-Coupler.

A35668-UN-05NOV93
Pin and spacer positioned for Category 3 and 3N WITH Quick-Coupler
or Category 3N/2 Hitch WITHOUT Quick-Coupler.
|
|
OUO6045,0000069-19-20090522
|
|