Folding Machine

A47248-UN-05APR01
12-Row Wide

A47246-UN-05APR01
8-Row Wide and 12-Row Narrow

A47247-UN-31MAR01
16-Row Narrow
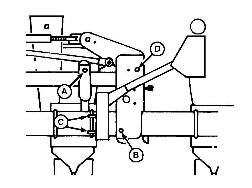
A - Wing Lock-Down
B - Rigid Lock
C - Storage
D - Storage
-
CAUTION: Always lock markers before folding wings for transport
(see MARKER TRANSPORT LOCKS in this section).
CAUTION: Stay clear of folding sections during raising or lowering.
Remove pin from wing lock-down (A) position and place it in
storage (C) position. Remove pin from rigid lock (B) position and
place it in storage (D) position.
-
Raise machine until planting units are clear of ground.
-
Fold machine completely using SCV lever.
|
|
OUO6045,000006B-19-20081211
|
|