Tow-Behind Field Hitch

A57784-UN-18APR06
A - Short Length
B - Mid-Length
C - Long-Length
D - Air Cart
E - Minimum/Maximum Hitch Length
F - Hitch Tube
G - Hitch Frame Extension
H - Cross-Support
Field hitch is factory assembled for shortest length.
Hitch tube length is adjustable to provide clearance for rear
bar attachments, such as press wheels and harrow.
Some applications require tubes be set to mid-length or long-length
positions.
Hitch frame extension is required in mid length and long length
positions.
550 TBH models come equipped with a heavy duty field hitch with
heavy duty brackets.
|
Hitch Tube Settings—Tow-Behind
|
|
Tillage Model
|
Hitch Tube Setting
|
Hitch Frame Extension
|
Minimum Hitch Length mm (in.)
|
Maximum Hitch Length mm (in.)
|
|
1890/1895/2510S
|
Short Length
|
No
|
3402 (134)
|
3670 (145)
|
|
737/1870
735 w/ Attachments
1830/1835 with Dual Air Cart Casters
|
Mid-Length
|
Yes
|
4196 (165)
|
4383 (173)
|
|
1830/1835 with Single Air Cart Casters
|
Long Length
|
Yes
|
4945 (195)
|
5089 (200)
|
Cross-support adjustment is required for all installations,
regardless of tube length settings.
Cross-support must be relocated to frame extension when mid-length
or long-length settings are used.
Storage stands may need to be relocated closer to tube ends
to support hitch when disconnected from tool.

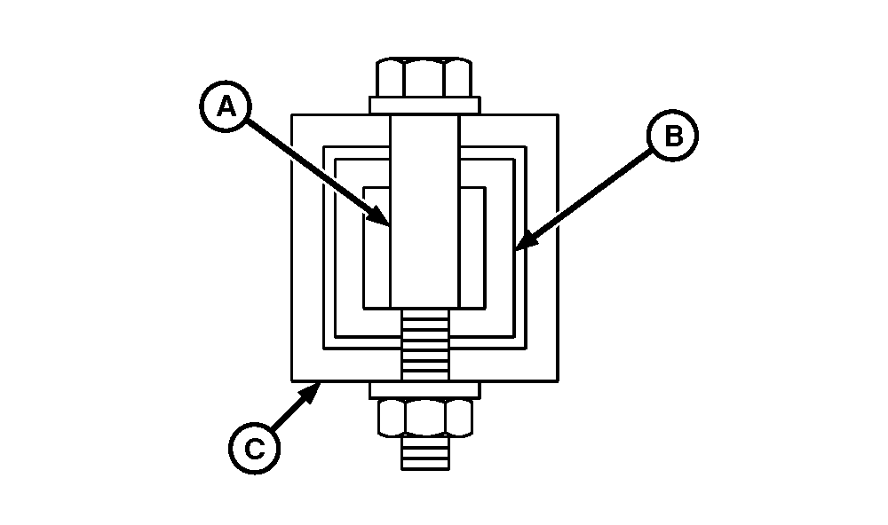
A57785-UN-18APR06
A - Retainer Spacer
B - Inner Tube
C - Outer tube
When moving hitch tube to mid-length or long-length position,
assemble hitch tube hardware as shown.
|
|
LD45720,000052D-19-20130313
|
|