Meter Cartridge/Seeding Tool Diagrams

A56305-UN-13MAY05

A56306-UN-13MAY05
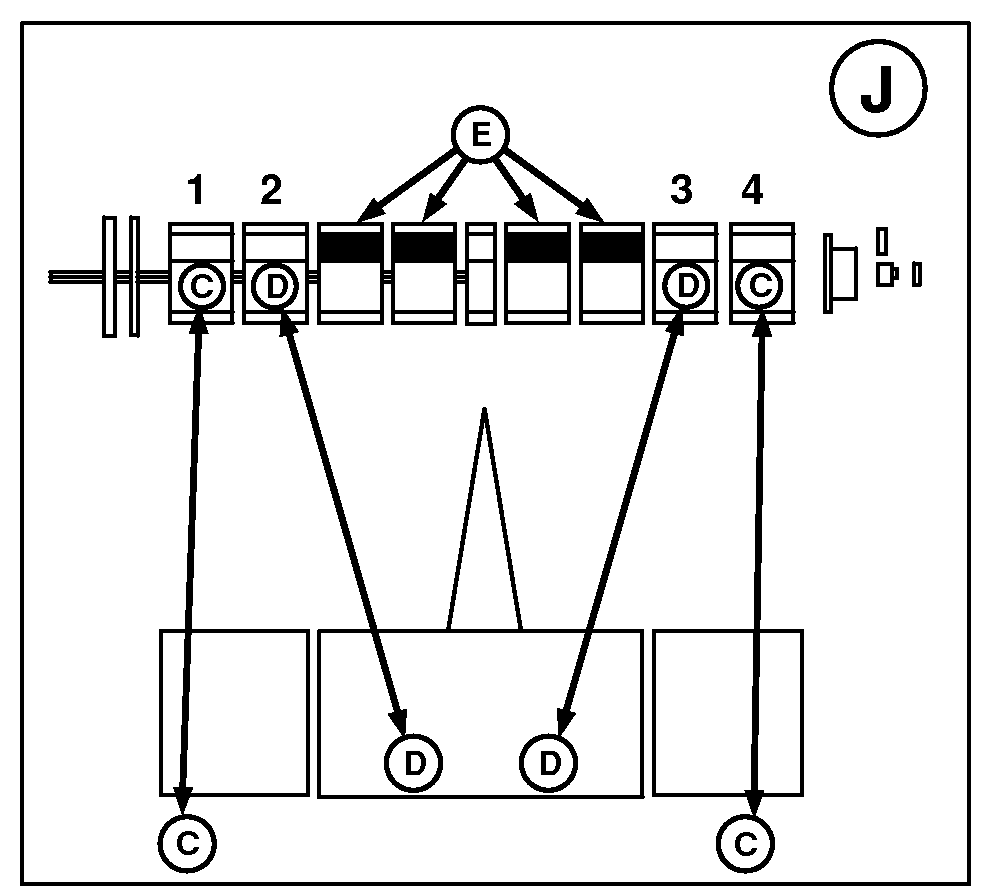
A - 9-Port Header/3 Tuning Rings
B - 10-Port Header/2 Tuning Ring
C - 11-Port Header/1 Tuning Ring
D - 12-Port Header/0 Tuning Rings
E - Meter Covers
F - Cart Meter Cartridge
G - Direction Of Travel
H - Seeding Tool
I - 8.5 m (28 ft) with 15.2 cm (6 in.) Spacing
J - 8.5 m (28 ft) with 19.1 cm (7.5 in.) Spacing
When operating air cart with a John Deere seeding tool, refer
to Tool Operator’s Manual for Meter Cartridge/Seeding Tool Diagrams.
|
|
LD45720,0000539-19-20111114
|
|