Adjust Tank Lid Down Pressure and Centering Tabs
IMPORTANT: If lid is not sealed tightly or tank is not pressurized,
product will not meter properly.
Inspect tank lid seals (D) before adjustment. Verify seal is
free of cuts, damage, and product has not built up on seal. Replace
as necessary.
Centering Tabs
-

A46455-UN-18AUG00
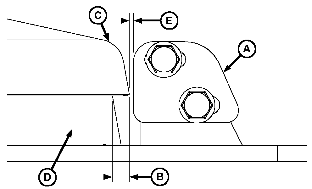
A - Centering Tab
B - Overlap Distance
C - Tank Lid
D - Seal
E - Gap
Center tank lid (C) so the overlap distance (B) is the same
on each side of seal (D). Adjust centering tabs (A) so gap (E) meets
specification.
| Item | Measurement | Specification |
|
Lid to Tab | Gap | 1.5 mm (1/16 in.) |
-
Tighten hardware in position.
Tank Lid Down Pressure
Tank lid down-pressure is adjustable to reduce air leaks. Use
powder or fine dirt to check for air leakage around lid perimeter.
To adjust lid proceed as follows:
-

A43546-UN-26AUG99
Open lid and place in the upper locked position.
-

A43545-UN-27SEP99

A43473-UN-03JUN99
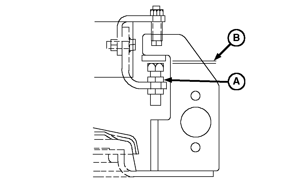
A - Set Screw
B - Gap
Adjust latch set screw (A) to set pivot clearance gap (B)
to specification.
| Item | Measurement | Specification |
|
Pivot | Clearance | 3.2 mm (1/8 in.) |
-

A49160-UN-02MAY02
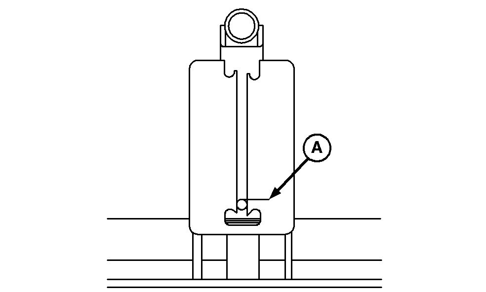
A - Notch
Identify notch (A).
-

A43547-UN-26AUG99
Lower handle, allowing lid to rest on tank in unlocked position.
-
NOTE: Swing arm adjustment bolt does not have a gap with lid
in this position. If adjustment is necessary, lightly press down on
the lid handle while making adjustment.

A49160-UN-02MAY02

A46308-UN-10JUL00
A - Notch
B - Coupling Nut
Top of pin is at notch (A). Adjust as necessary by turning
coupling nut (B).
-
Close lid and check for complete seal when lever is down and
locked.
|
|
LD45720,00005AE-19-20120209
|
|