Adjusting Wheel Tread With Rack-And-Pinion Axle

NOTE: Adjustment of wheels is only possible when not more than two weights are attached to each wheel.

1. Clean the axle with a wire brush.

2. Jack up tractor and turn rear wheel so that rack on axle faces upward.

3. Loosen the attaching bolts completely.

4. Tighten the jack screws until the screw heads are flush against the face of the wheel hub.

NOTE: If the sleeve does not break loose at once, also loosen the three special screws on inboard side of wheel. If sleeve still does not break loose, strike end of axle several times with a heavy hammer. Evenly retighten jack screws. It helps to soak the sleeves in penetrating oil.

5. Turn adjusting screw in or out until desired position is reached.

6. Back jack screws all the way out against stop, but do not use force.

7. Lubricate threads and retighten attaching bolts alternately to 400 N·m (300 lb-ft). Retighten bolts several times until all three stay tightened to specified torque. When the attaching bolts are tightened to specified torque, the jack screws should be free to turn. If this is not the case, loosen jack screws and retighten attaching bolts to specified torque.

8. After completing wheel tread adjustment, make sure that tires and wheel ballast weights do not rub against the tractor. Then drive tractor approx. 50 m (160 ft.), stop the tractor and retighten attaching bolts to 400 N·m (300 lb-ft). The bolts must be retightened to torque after 4 hours, after 8 hours and several times within the next 100 hours. See "Break-In Period".

L102691

AG,OU12401,304 -19-10APR00-1/3


IMPORTANT: The distance between the side wall of the tire and the fender must not be less than 50 mm (1.97 in.). The distance between the running surface (edge) of the tire and the fender must not be less than 60 mm (2.36 in.).

 

AG,OU12401,304 -19-10APR00-2/3


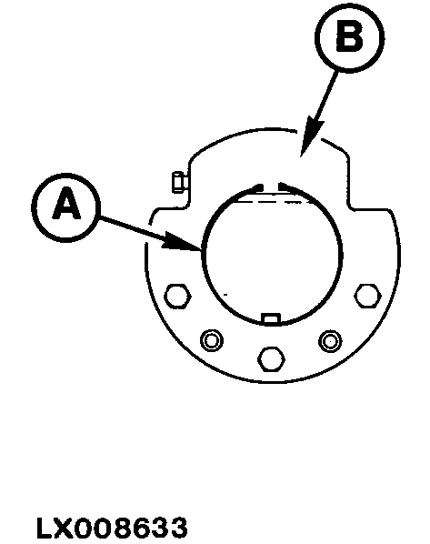
Turn wheel hub (pinion inside)

For loosening, adjusting and tightening wheel hub, see previous page.

1. To facilitate assembly, remove rear wheel.

2. Remove snap ring (A). Turn adjusting screw so that wheel hub (B) is at maximum width. Remove wheel hub (B).

3. Put wheel on axle at desired position. Turn wheel hub (B) around and install it.

4. Install wheel and snap ring (A). For further assembly, see previous page.

IMPORTANT: The distance between the side wall of the tire and the fender must not be less than 50 mm (1.97 in.). The distance between the running surface (edge) of the tire and the fender must not be less than 60 mm (2.36 in.).

LX008633
LX008634

AG,OU12401,304 -19-10APR00-3/3