Adjusting the Fixed Fenders

LX1033634


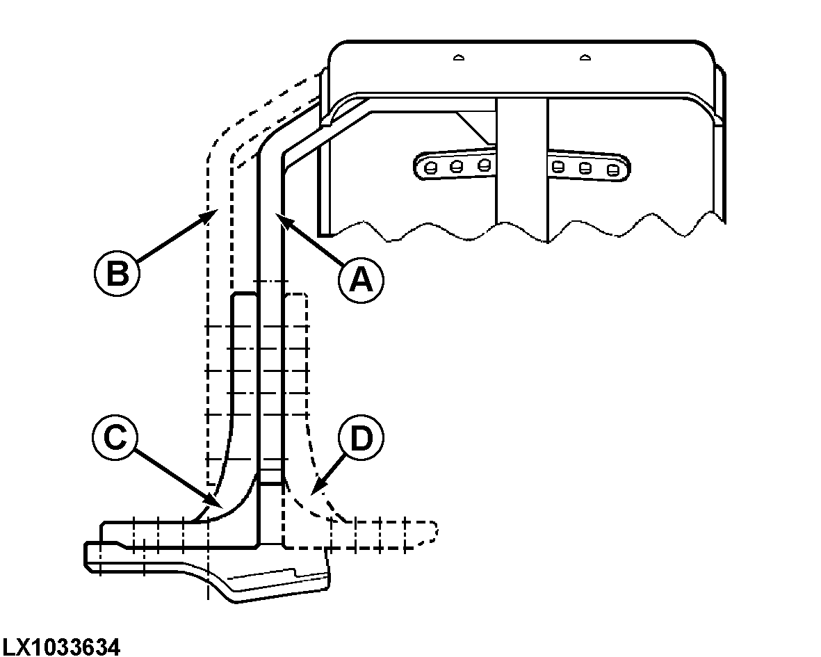
A-Support to base plate (wheel side)


B-Support to base plate (tractor side)


C-Base plate (tractor side)


D-Base plate (wheel side)

The fenders may be adjusted individually. Several adjusting positions are possible. Tilt, width and height of the fenders can be adjusted depending on tire size,

tread width and steering angle. To do so, proceed as follows:

OULXE59,0010661 -19-23JUL04-1/3


1. Raise front of tractor so that the front wheel drive axle can pivot freely.

2. Turn steering wheel in both directions and pivot the axle to determine the most suitable fender mounting position.

3. Adjust fender position so that the minimum clearances (see illustration) are met. There must not be any contact with the tractor frame.

A = 40 mm (1.57 in.), B = 60 mm (2.36 in.)

4. Also adjust the steering angle to make sure that neither the wheel nor the fender come into contact with the tractor frame.

LX1033892
LX1033894

OULXE59,0010661 -19-23JUL04-2/3


Tighten the screws to the following torque values:

Screws (A)... 140 N·m (105 lb-ft)
Screws (B)... 140 N·m (105 lb-ft)
Screws (C)... 190 N·m (140 lb-ft)

 


A-Cap screws, support to base plate
B-Cap screws, base plate to base
C-Hex. socket screws, base to knuckle housing

LX1033635

OULXE59,0010661 -19-23JUL04-3/3