Spurverstellung bei Verstellachse

HINWEIS: Das Verstellen der Räder ist nur dann möglich, wenn nicht mehr als zwei Radgewichte angebracht sind.

1. Die Achse mit einer Stahlbürste reinigen.

2. Den Traktor hochbocken, damit das Hinterrad vom Boden abgehoben ist, und das Rad so drehen, daß die Verzahnung der Achse nach oben steht.

3. Die Befestigungsschrauben gut lösen.

4. Die Abziehschrauben so weit nach innen drehen, bis die Innenkanten der Schraubenköpfe mit der Radnabe bündig sind.

HINWEIS: Wenn sich die Radnabe nicht lösen läßt, auch die drei Schrauben auf der Rückseite der Radscheibe lösen. Hilft dies nicht, dann mit einem schweren Hammer mehrmals gegen das Achsende schlagen und die Abziehschrauben nochmals gleichmäßig anziehen. Auch die Verwendung von Kriechöl erleichtert das Lösen der beiden Nabenhälften.

5. Die Verstellschraube nach außen oder innen drehen, bis die gewünschte Position erreicht ist.

6. Ist die Spurweite eingestellt, die Abziehschrauben bis zum Anschlag herausschrauben. Keine Gewalt anwenden!

7. Die Radbefestigungsschrauben nach Einfetten der Gewinde mehrmals abwechselnd mit 400 N·m
(300 lb-ft) anziehen. Nach dem Festziehen müssen sich die Abziehschrauben frei drehen lassen; ist dies nicht der Fall, müssen sie weiter herausgedreht und die Befestigungsschrauben nochmals mit dem angegebenen Drehmoment nachgezogen werden.

L102691

AG,OU12401,304 -29-10APR00-1/3


8. Nach der Einstellung überprüfen, ob Reifen oder Zusatzgewichte nicht am Traktor schleifen. Danach mit dem Traktor ungefähr 50 m (160 ft.) fahren, den Traktor anhalten und die Befestigungsschrauben nochmals mit 400 N·m (300 lb-ft) festziehen. Nach etwa 4, 8 und mehrmals innerhalb der nächsten 100 Einsatzstunden müssen die Schrauben nochmals mit den vorgeschriebenen Anzugsmomenten nachgezogen werden. Siehe "Einlaufzeit".

WICHTIG: Der axiale Abstand zwischen Reifen und Kotschützer darf nicht kleiner als 50 mm (1.97 in.) sein. Der radiale Abstand zwischen Reifen und Kotschützer darf nicht kleiner als 60 mm (2.36 in.) sein.

 

AG,OU12401,304 -29-10APR00-2/3


Drehen der Radnabe in Position Verstellritzel innen

Lösen, Einstellen und Anziehen der Radnabe, siehe vorherige Seite.

1. Zur leichteren Montage das Hinterrad entfernen.

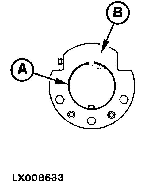
2. Sicherungsring (A) entfernen. Die Verstellschraube soweit drehen, daß die Radnabe (B) ganz außen ist. Radnabe (B) abnehmen.

3. Das Hinterrad in der gewünschten Position auf die Achse schieben. Radnabe (B) herumdrehen und einbauen.

4. Hinterrad befestigen und Sicherungsring (A) einbauen. Weiterer Zusammenbau, siehe vorherige Seite.

WICHTIG: Der axiale Abstand zwischen Reifen und Kotschützer darf nicht kleiner als 50 mm (1.97 in.) sein. Der radiale Abstand zwischen Reifen und Kotschützer darf nicht kleiner als 60 mm (2.36 in.) sein.

LX008633
LX008634

AG,OU12401,304 -29-10APR00-3/3